[ВХОД]

07.04.26(08:43)

www.skif.biz

Альтернативная энергия. Оставь надежду, всяк сюда входящий...

🏠 Главная | 📚 Содержание | 💬 Форум | 📁 Файлы | 📩 Контакт
 
Резонансные генераторы
Магнитные генераторы
Механические центробежные (вихревые) генераторы
Электростатические генераторы
Водородные генераторы
Ветро- и гидро- и солнечные генераторы
Прочие идеи (разные)
О форуме
Транспорт
Оружие
Научные идеи, теории, предположения...
Экономия топлива
Коммерческие вопросы
Струйные технологии
Торсионные генераторы
Новые технологии
Барахолка
Патентный отдел
Конструкторское бюро
Нейтронная физика
Торнадо и смерчи
Гравитация и антигравитация
Сделай сам. Советы.
Медицина и здравоохранение

📱 | 🖨️

Форум - Научные идеи, теории, предположения... - идеи и теории, научные и бредовые... - Полное уравнение ЗСЭ - Стр:4
<] [ 1 | 2 | 3 | 4 | 5 | 6 | 7 | 8 | 9 | 10 | 11 | 12 | 13 | 14 | ... | 30 ] [>
Модератор: bazarov
Первый пост темы: bazarov Post: #373337 От:29.05.2012 (23:16)
В принципе тему можно было не создавать, но так как принцип новый для непосвящённых, то лучше всё отдельно написать. Рассматривается полное уравнение по рассчёту электрической энергии по Кулону. Почему все пользуются книжными цитатами меня не волнует, просто показываю как сделал это Великий Мыслитель Кулон. Причём сделал это он тогда, когда электроники и в помине небыло. Поэтому у него энергия выражается как работа. А в виду тупости современных академиков сие знания были преданы забвению и не используются на сей день. Хотя формулы накрепко связывают всю электротехнику и механику воедино. Но не будем обижаться на тупых доцентов и прочих, их Бог специально за ранее простил зная что ничего не поймут а знания передадут. Ну раз Сам Бог этих бездарей простил, то нам и подавно надо.

В принципе за такой расчёт нобелевка пологается, но обойдёмся парами строками флуда.

Если кому что непонятно будет обсуждайте, я встрявать сильно не собираюсь. Только по непонятным вопросам могу ликбез дать. Хотя тут и обсуждать особо нечего.


С этой поры учёных для меня не существует. Теперь они просто - деятели.
aleksej2802 | Post:419233 - Date: 29.05.13(13:47)
turist1 Пост: 419226 От 29.May.2013 (13:47)
shkaf Пост: 419220 От 29.May.2013 (13:18)
aleksej2802 Пост: 419216 От 29.May.2013 (12:48)
Самое интересное что одиночный магнит меняет пространство не в большей степени чем обычная железка..🤢
Для того чтобы возникли силы нужна система как минимум из двух магнитов...😎
Зы..Для общего развития..в радиолампах заряды с лектронами не летают..как и в транзисторах в дырки не прыгают..

Турист-я тебя отчести понимаю, что ты хочешь сказать, но хочу заметить, что у тебя очень много ляпов в формулировках, и стиле изложения материала--поэтому проработки требуются существенные. Для начала изучи Ньютона "Матеатические начала натуральной философии"--это для того, чтобы понятием "сила" фигурировал без ошибок. ТАК ВОТ, ДАЖЕ ОДИНОЧНЫЙ МАГНИТ, ПОМЕЩЕННЫЙ В ПРОСТРАНСТВО--СОЗДАЕТ СИЛЫ===ЭТО ТЕБЕ НА ЗАКУСКУ, И СПОР ЗДЕСЬ НЕУМЕСТЕН. Просто эти силы уравновешены! Более того, понятие "сила" само по себе не имеет никакого смысла во всех понятиях, пока не будет обозначено, к чему это относится!!!--этот момент ты везде упускаешь, а это серьезный момент. Ну а то, что шкаф на тебя "ополчился"--так сам провоцируешь! К чему твое "ЗЫ" неуместное---ребячество...
Да, для того, чтобы возникли "силы" НЕОБЯЗАТЕЛЬНО !!! создавать систему из ДВУХ и более магнитов,т.к. достаточно создать в среде условия неравновесного (неустойчивого) состояния, и среда автоматически, ДА ДА иДА, АВТОМАТИЧЕСКИ предпримет все имеющиеся у нее меры длятого, чтобы занять уравновешенное(устойчивое) состояние!---это тоже один из основных законов мироздания...

shkaf | Post:419235 - Date: 29.05.13(13:58)
поправил ветку

поправил Шкафа.

_________________
На Бога уповаем. http://www.skif.biz/files/e5a7f3.jpg


shkaf | Post:419236 - Date: 29.05.13(14:03)
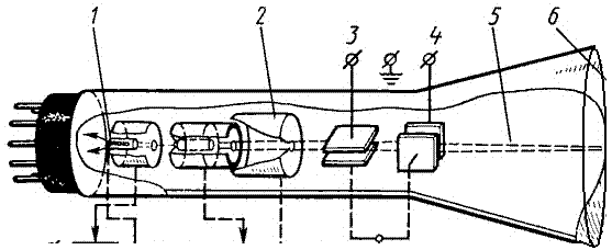
Томас Эдисон (1847—1931) обнаружил (1879 г.), что в вакуумной стеклянной колбе возникает электрический ток, если один из электродов нагреть до высокой температуры.
image

Подключим к выводам металлической нити источник тока. Если нить соединена с отрицательным полюсом источника, то при ее нагревании электрометр быстро разряжается. При соединении нити с положительным полюсом электрометр не разряжается и при нагревании нити током. Эти опыты доказывают, что нагретый катод испускает частицы, обладающие отрицательным электрическим зарядом. Эти частицы — электроны. Явление испускания свободных электронов с поверхности нагретых тел называется термоэлектронной эмиссией.


_________________
На Бога уповаем. http://www.skif.biz/files/e5a7f3.jpg


shkaf | Post:419237 - Date: 29.05.13(14:09)
Электровакуумный прибор, в котором используется такой поток электронов, называется электронно-лучевой трубкой.
Внутренняя поверхность стеклянного баллона электронно-лучевой трубки против анода покрыта тонким слоем кристаллов, способных светиться при попадании в них быстрых электронов. Эту часть трубки называют экраном (6).
С помощью электрических и магнитных полей можно управлять движением электронов на пути от анода до экрана и заставить электронный луч «рисовать» любую картину на экране. Эта способность электронного луча используется для создания изображений на экране электронно-лучевой трубки телевизора, называемой кинескопом. Изменение яркости свечения пятна на экране достигается путем управления интенсивностью пучка электронов с помощью дополнительного электрода, расположенного между катодом и анодом и работающего по принципу управляющей сетки электровакуумного триода.
В трубке электронно-лучевого осциллографа между анодом и экраном расположены две пары параллельных металлических пластин. Эти пластины называются отклоняющими пластинами. Подача напряжения на вертикально расположенные пластины 4 вызывает смещение электронного луча в горизонтальном направлении, подача напряжения на горизонтальные пластины 3 вызывает вертикальное отклонение луча. Смещения луча на экране трубки пропорциональны приложенному напряжению, поэтому электронный осциллограф может использоваться в качестве электроизмерительного прибора.

лт
лт
Размер: 8.79 KB

_________________
На Бога уповаем. http://www.skif.biz/files/e5a7f3.jpg


turist1 | Post:419248 - Date: 29.05.13(16:07)
aleksej2802 Пост: 419233 От 29.May.2013 (14:47)
turist1 Пост: 419226 От 29.May.2013 (13:47)
shkaf Пост: 419220 От 29.May.2013 (13:18)
aleksej2802 Пост: 419216 От 29.May.2013 (12:48)
Самое интересное что одиночный магнит меняет пространство не в большей степени чем обычная железка..🤢
Для того чтобы возникли силы нужна система как минимум из двух магнитов...😎
Зы..Для общего развития..в радиолампах заряды с лектронами не летают..как и в транзисторах в дырки не прыгают..

Турист-я тебя отчести понимаю, что ты хочешь сказать, но хочу заметить, что у тебя очень много ляпов в формулировках, и стиле изложения материала--поэтому проработки требуются существенные. Для начала изучи Ньютона "Матеатические начала натуральной философии"--это для того, чтобы понятием "сила" фигурировал без ошибок. ТАК ВОТ, ДАЖЕ ОДИНОЧНЫЙ МАГНИТ, ПОМЕЩЕННЫЙ В ПРОСТРАНСТВО--СОЗДАЕТ СИЛЫ===ЭТО ТЕБЕ НА ЗАКУСКУ, И СПОР ЗДЕСЬ НЕУМЕСТЕН. Просто эти силы уравновешены! Более того, понятие "сила" само по себе не имеет никакого смысла во всех понятиях, пока не будет обозначено, к чему это относится!!!--этот момент ты везде упускаешь, а это серьезный момент. Ну а то, что шкаф на тебя "ополчился"--так сам провоцируешь! К чему твое "ЗЫ" неуместное---ребячество...
Да, для того, чтобы возникли "силы" НЕОБЯЗАТЕЛЬНО !!! создавать систему из ДВУХ и более магнитов,т.к. достаточно создать в среде условия неравновесного (неустойчивого) состояния, и среда автоматически, ДА ДА иДА, АВТОМАТИЧЕСКИ предпримет все имеющиеся у нее меры длятого, чтобы занять уравновешенное(устойчивое) состояние!---это тоже один из основных законов мироздания...

Что такое среда?
Что такое вещество?
что такое сила?
какие условия надо.создать в среде чтобы возникла сила?
ни на один вопрос нет внятного ответа..
Есть попытка переноса наблюдаемых явлений и понятий например механики или гидравлики на совсем другие явления и процессы.
Да по другому и быть не может из за отсутствия понятий ,опыта и даже подходящих слов Вот.я.пытаюсь обяснить эти процессы а определений просто не существует..как раньше не было таких слов и понятий как транзистор, ток, компьютер и т.д....потому я и путаюсь в определениях.
А вообще среда нераздельна от вещества..все одно целое..а система хоть для нас и может казатся хаосом,- целиком для внешнего наблюдателя находится в равновесии...ну а в системе..-
Есть силы а есть информация о изменения структуры окружающего вещества..есть копирование структуры...разное вещество в силу своей природы имеет разные возможности к изменениям структуры ..перемещается в зависимости от степени изменения..и суперпозиции информации окружающего вещества..все меняется, перемещается -стремится к равновесию..




Белка, я тя прибью. Исправляй свою писанину вовремя.

turist1 | Post:419255 - Date: 29.05.13(16:41)
шкап..я знаю как описывают работу кинескопа..туфта все это..емкость...+пары металла в колбе...вот и все твои "летающие" лектроны.
Как всегда...начали с геометрии, рассматривали отличие квадратных катушек от круглых...Появиля шкап...тема плавно перешла в другое русло..

bazarov | Post:419259 - Date: 29.05.13(17:30)
dedivan Пост: 419217 От 29.May.2013 (12:50)
aleksej2802 Пост: 419210 От 29.May.2013 (11:13)
Спасибо за подъебку,подловил,

Не, без подъебок, серьезно.
Сам Ампер тоже говорил, что если введете в физику магнитное поле-
то получите бардак.

Деда, не подскажешь где Ампер такое говорил?

_________________
Не хватит никакого здоровья, чтобы приспособиться к этому глубоко больному обществу(Кришна Мурти)/Горшки не Боги обжигают (многовековая классика)


bazarov | Post:419271 - Date: 29.05.13(18:29)
Народ расписывал свои ручки.... Ну и ладно.
TOP Пост: 419187 От 28.May.2013 (22:25)
Базарыч, а что бывает в природе, что создаёт противодействие?
По моему только точка опоры.
Сердечник в твоём трансформаторе играет роль опоры.
Чем больше возможных точек интерференции в твоём сердечнике, тем лучшая он опора.
Кажется я тут уже где-то это разжёвывал на примере границ между двумя материалами.

А меня мучает вопрос, если сумма интерферирующих волн является зарядом то почему мы не знаем частоту излучения мегнитных колебаний? Ни в одном справочнике не видел. Может это статика подобная давлению? А скорость изменения давления и есть магнитное поле. Тогда всё красиво и чётко получается. Но если всё идёт гладко - значит что-то не так 😕.
image


Ещё раз к Капельнице Кельвина вернусь.
[ссылка]
Если не ошибаюсь нижний вариант не рабочий.
image

YouTube: Смотреть видео

Если принять во внимание что мы рассматриваем взаимодействие заряда со стороны конденсаторного эффекта, но капельницу уже давно нужно было модернизировать. Но вопрос лишь в том каким образом заряд взаимодействует меж собой. Если это излучение то на какой частоте? Тут ещё одно противоречие возникает.
[ссылка]
[ссылка]
[ссылка]
image
/220px-Генератор_Ван_де_Граафа.png
У меня только один вопрос: почему одноименный заряд попадая внутрь более заряженого металлического шара отдаёт свой мизерный заряд более большому? Как это понять? Излучения тут не проходят. И шарики тоже. Если бы были шарики то заряд наоборот бы увеличивался на ленте. Где логика?

_________________
Не хватит никакого здоровья, чтобы приспособиться к этому глубоко больному обществу(Кришна Мурти)/Горшки не Боги обжигают (многовековая классика)


turist1 | Post:419275 - Date: 29.05.13(18:44)
Базаров..внутри шара никаких зарядов быть не может сколько не заряжай изменятся будет только наружная поверхность. заряды это не шарики с плюсиком и минусиком..это измененное состояние вещества относительно другого вещества....находящегося.снаружи...а внутри шара...все в равновесии..вещество скгмпенсировано суперпозиция состояний внутренних стенок друг на друга.. своя система отсчета. .)))) .

bazarov | Post:419276 - Date: 29.05.13(18:58)
Белка, вот тебе рисунок поясни на нём в паинте почему в начале положительный заряд полностью передаётся сфере. По закону сохранения энергии на двух сферах должен быть одинаковое напряжение, точнее заряд приходящийся на площадь каждой из шаров должен быть одинаков. Это же конденсатор, так? Только конкретно объясни - причину.
Конденсатор Вано де Графа Монтекристо.
Конденсатор Вано де Графа Монтекристо.
Размер: 1.48 KB

_________________
Не хватит никакого здоровья, чтобы приспособиться к этому глубоко больному обществу(Кришна Мурти)/Горшки не Боги обжигают (многовековая классика)


aleksej2802 | Post:419293 - Date: 30.05.13(03:49)
turist1 Пост: 419283 От 29.May.2013 (20:34)
так я ж тебе ответил.
потому что тряпочка снаружи шара а внутри суперпозиция..потому и переползет😬
Турист--это не ответ! Ход мыслей у тебя вроде правильный--но людям не понятно тебя, да и сам ты здесь барахтаешься, т.к. в одном и том же предложении базируешься рвзными понятиями при описании единого процесса----в этом твоя беда.
Начнем с того, что:
1---даешь определение того, что ТЫ именно понимаешь , говоря "суперпозиция"!
2. а после этого, используя понятие процессов, заложенных в твою "суперпозицию"--опиши то, почему твоя "тряпочка" снаружи ведет себя так.
ТОГДА К ТЕБЕ БУДУТ ОТНОСИТЬСЯ С ПОНИМАНИЕМ.
А твоя нынешнЯЯ манера выражения своих идей и мыслей не ЕСТЬ САМЫЙ ЛУЧШИЙ ВАРИАНТ------СКВОЗИТ СПЛОШНЫМ ЭГОИЗМОМ, ЧУВСТВОМ СОБСТВЕННОГО ПРЕВОСХОДСТВА ---КАК НАДУТЫЙ ПУЗЫРЬ.
в ОБЩЕМ, ход твоих рассуждений примерно пока на верном пути, правда куда далее идти ты и сам не определился.
Даю приложене с генератором-пирамидой, где вырабатываются "электрончики" из....., где шкаф со своей теорией общепризнанной встанет в штопор,а по твоим соображениям, предполагаю, имеется толковое объяснение.
0be76f.doc
Размер: 240.00 KB

aleksej2802 | Post:419464 - Date: 02.06.13(15:55)
Все и везде знают только пациенты палаты №6, а я познал только одну истину за свою жизнь: "ЧЕМ БОЛЬШЕ ИСТИН Я ПОЗНАЛ,ТО ПРИШЕЛ К ВЫВОДУ, ЧТО Я АБСОЛЮТНО ПРАКТИЧЕСКИ НИЧЕГО НЕ ЗНАЮ!"


bazarov | Post:419473 - Date: 02.06.13(19:20)
Многоуважаемые среди своих друзей господа, будьте любезны по теме писать. Удалить ваши "труды" для модератора темы ничего не стоит.

Теперь по теме.
[ссылка]

_________________
Не хватит никакого здоровья, чтобы приспособиться к этому глубоко больному обществу(Кришна Мурти)/Горшки не Боги обжигают (многовековая классика)


bazarov | Post:419475 - Date: 02.06.13(20:54)
aleksej2802 | Post: 419293 - Date: 30.05.13
Даю приложене с генератором-пирамидой, где вырабатываются "электрончики" из.....

Алексей, не скажите откуда "дровишки"? Если не изменяет мне моя дырявая память гранит даёт фоновое излучение. Таким образом кусок гальки (гранита или щебня) превращается в генератор шума на всерхвысоких частотах. Пирамида представляет собой разделитель зарядов, значит генератор сделанный из фонового излучения гранита даёт разделение заряда. Мелочи пропустим и к главному. Получается что если сделать ёмкостной генератор то напряжение на пирамиде будет расти по предельного значения как в машине Ван Де Графа?

Предложу своё виденье а вы если что поправьте. Получается что металлическая шайба (основание пирамиды) геометрически должно находиться внутри каркаса из фольги. Причём пирамидальная конструкция в купе с металлическим основанием помимо хорошего конденсаторного эффекта даёт простоту конструкции, всё лучше чем сфера. Значит слоёв фольги должно быть два как минимум. Нижний слой гальванически не связан ибо с него заряд в виде излучения передаётся на верхние слои фольги. Колличество фольги в таком случае иглает роль съёмника заряда, а значит все слои должны быть связаны между собой, тогда поглащение излучения усилится. Вроде всё как в радиолампе. Ну и по схеме если присмотреться основание с наружней фольгой должны быть заземлены.

Алексей, какую мощность даёт конструкция? Думали ли вы вместо радиоактивного гравия использовать ёмкостной генератор или ещё чего? Пробовали ли вы замениь грани на другие "фонящие" материалы?

За ранее благодарю за ответы.

Ещё вопрос. В пирамидах (реальных) основание случайно не изолировано базальтом или слюдой? Может кто знает факты. А кто может сказать какая была облицовка у пирамид?

Для настроения:
Мы рождены чтоб сказку сделать пылью...

YouTube: Смотреть видео

_________________
Не хватит никакого здоровья, чтобы приспособиться к этому глубоко больному обществу(Кришна Мурти)/Горшки не Боги обжигают (многовековая классика)


MPR | Post:419482 - Date: 03.06.13(08:51)
жесть какая....
Заряд кулона - это энергетическая единица
"это" или "-" надо определиться, вместе если писать палишься...
Вообще после этой фразы читать дальше желание пропало, с тем же успехом можно порассуждать о напряжении вольта или о токе ампера, сделать там вид многозначительный и щеки надуть обязательно, что бы "такие тупые" академики соплями подавились.
Ну да ладно, едем дальше
"Как видим из преобразований в реальности электрическая энергия это заряд"
ну допустим и что?
"КИНЕТИЧЕСКАЯ ЭНЕРГИЯ – ЭТО КОЛЛИЧЕСТВЕННЫЙ ПОКАЗАТЕЛЬ СУММЫ ЗАРЯДОВ ПРИХОДЯЩИЙСЯ НА ИНТЕРВАЛ ВРЕМЕНИ."
Закидываем в копилку маразмов слово "колличество", кстати, а че не через А написать? Если уж на новые рельсы так все по новому, включая свою трактовку грамматики, заодно появится возможность назвать дураком учителя по русскому языку.
Ладно, отвлеклись... продолжим
"и после этого хоть один эмбицил академический будет Вам, уважаемые
читатели, доказывать что электрическая мощность
является квадратом от тока"
Как говорится следите за руками, разговаривали о энергиии и тут бац - мощность, гениально.
Дальше этот бред читать не стал уж извиняйте....
ЗЫ
Слово имбецил зря обидел [ссылка] , вообще клево наблюдать как человек делающий три ошибки в слове "жопа" пишет научный трактатЪ "о вреде всего сущего".
Базарыч чего это тебя так вштырило, ну не уважаешь ты тупых академиков, хрен бы с ними, ты бы хоть уважал читателей твоего опуса, на ошибки бы проверил хоть в офисе, теплое с мягким свел воедино, а то как наперсточник ей богу.... следите за руками....?



aleksej2802 | Post:419490 - Date: 03.06.13(15:33)
bazarov Пост: 419475 От 02.Jun.2013 (21:54)
откуда "дровишки"? ----
из просторов интернета

" гранит даёт фоновое излучение. Таким образом кусок гальки (гранита или щебня) превращается в генератор шума на всерхвысоких частотах. Пирамида представляет собой разделитель зарядов, значит генератор сделанный из фонового излучения гранита даёт разделение заряда. Мелочи пропустим и к главному. Получается что если сделать ёмкостной генератор то напряжение на пирамиде будет расти по предельного значения как в машине Ван Де Графа?" ------------в моем понимании, ход рассуждений необходимо строить по иному--не делать скоропалительных заключений без анализа процессов.

"Причём пирамидальная конструкция в купе с металлическим основанием помимо хорошего конденсаторного эффекта даёт простоту конструкции, всё лучше чем сфера."-- подход анализа изменим???
Итак, что такое сфера с позиции геометрической формы----это конструкция, обладающая "абсолютной " симметрией , и пирамида в отличие от сферы имеет только одну ось симметрии, проходящую через ВЕРШИНУ пирамиды!!!! При этом, стоит отметить ОСОБО, что относительно любой плоскости, перпендикулярной оси симметрии пирамиды, пирамида АССИМЕТРИЧНА. Вспомним посты туриста, где он говорил о важности формы в рассотрении процессов---это то, что здесь частично присутствует.

"Значит слоёв фольги должно быть два как минимум. Нижний слой гальванически не связан ибо с него заряд в виде излучения передаётся на верхние слои фольги. Колличество фольги в таком случае иглает роль съёмника заряда, а значит все слои должны быть связаны между собой, тогда поглащение излучения усилится. Вроде всё как в радиолампе. Ну и по схеме если присмотреться основание с наружней фольгой должны быть заземлены."---в моем понимании---абсолютно не относится к данной ситуации---это от неопытности. Фольга служит здесь для иных целей!

"какую мощность даёт конструкция?"----перечитайте пост, там указано.

" Думали ли вы вместо радиоактивного гравия использовать ёмкостной генератор или ещё чего? Пробовали ли вы замениь грани на другие "фонящие" материалы?"---это метод тыка пальцем в облака, а значить пустая трата времени. Поясню-для того, чтобы применяь разные материаля в испытании, необходимо хоть ПРЕДПОЛАГАТЬ, что мы можем получить в этом случае, а для этого хоть на уровне предположений определиться с возможными зависимостями взаимодействуй



Ещё вопрос. В пирамидах (реальных) основание случайно не изолировано базальтом или слюдой? Может кто знает факты.

"А кто может сказать какая была облицовка у пирамид?"--по просочившейся информации, в районе Японии в начале 20 века были обнаружены действующие подводные пирамиды, облицованные снаружи листами палладия, который япоши благополучно сумели приватизировать.

Для настроения:
Мы рождены чтоб сказку сделать пылью...



Сам я эту конструкцию не повторял--но судя по всему, она рабочая.
Давай изменим ход рассуждений:
Итак, какие условия мы должны обеспечить, что бы обеспечить протекание эл.тока в цепи????--очевидно, что эл. цепь должна быть замкнута, иметь "нагрузку", должна присутствовать разность потенциалов....
Теперь построим разные варианты предполагаемых эквивалентных эл. схем , обеспечивающих протекание возможных процесссов.
Проведем сбор информации о своиствах пирамид, о подобных процессах, обзор возможных теорий официальных и неофициальных, способных прояснить протекающие процессы.
Вспомним информацию про сплав проводника алюминия с медью с переменным процентным содержанием, вырабатывающие эл.ток.
Была инфа, где через проводник медный ,помещенный в кольцевые магниты с перемычками из тонкого диэлектрика,начинал протекать эл.ток.
Вспомним Гребенникава "мой мир"--эффект форм...
Патент по заточке лезвий, представляющий из себя картонную пирамиду
определим, в чем заключаются особые Свойства алюминия(золота, серебра и платины) в отличие от других материалов --в том числе и с позиций эзотерики...
Ацюковского теорию знать в данной ситуации просто необходимо!, но и квантовая теория в данном случае лишней не будет. Голография-? Ритмодинамика--в какой то мере ... ОПТИКА---знать свойства преломления лучей на уровне представлений желательно
Ну а теперь попробуй провести самостоятельный анализ с учетом моих предыдущих постов в этой ветке, и ТОРА(где пример с вентилятором), Туриста(формы и.... ), кое что и у шкафа промелькивало...
Грани пирамиды какие могут выполнять функции с разных позиций рассотрения???---преломление поступающих потоков чего то или какой то энергии, частиц или еще чегото--при этом фокусировка где находится?
При этом ось симметрии пирамиды где расположена???--и почему там расположена шпилька?
Заполнение пирамиды при этом какое может оказывать влияние???---изменение параметров среды, а значить и преломление потоков меняется,.....
Думай, анализируй--и главное--не зацикливайся на ...
Особо подчеркну, что офиц. наука факт возникновения и исчезновения частиц из ниоткуда(физ вакуума) подтверждает, но дает БЕЗТОЛКОВОЕ ДЕТСКОЕ ОБЪЯСНЕНИЕ! В теории эфира в этом отношении разумности гораздо больше.
Еще, прочто Родионова статью, где он вскрывает факт фальсификации таблицы Менделеева---это на 100% относится к данной конструкции!
ДЕРЗАЙ--ДОРОГУ ОСИЛИТ ИДУЩИЙ.

sanvalerich | Post:419497 - Date: 03.06.13(17:07)
aleksej2802 Пост: 419490 От 03.Jun.2013 (16:33)
bazarov Пост: 419475 От 02.Jun.2013 (21:54)
Сам я эту конструкцию не повторял--но судя по всему, она рабочая.
Давай изменим ход рассуждений:



А может, сначала, стоит повторить конструкцию, дабы быть уверенным, что рассуждения будут иметь какую-то реальную основу? 😀 Эта конструкция висит в Интернете лет пять-шесть, и что-то ни кто не повторил...

bazarov | Post:419501 - Date: 03.06.13(21:00)
sanvalerich | Post: 419497 - Date: 03.06.13
А может, сначала, стоит повторить конструкцию, дабы быть уверенным, что рассуждения будут иметь какую-то реальную основу?

А основа простая. Пока наши доморощеные академики трындят за бугром вроде год назад собиралсиь выпускать батарейки для часов со сроком службы 10 с начинкой толь из радиоактивных эелементов толь изотопов. Думаешь не сделают? К примеру наши идиоты выеживаются пытаясь в ламповых усилках добиться 1% искажений а японская фирма "Сони" уже лет 10 выпускает высококачественные ламповые усилители с жидкостным трансформатором. ЧПУ станки уже в 80-х в Германии во всю работали а наши из обломков принтера только в 90-е начали что-то делать. Это и есть уровень нашей науки и академиков. Так что Санвалерич на сей день уже и роботы катаются и гранит фонит там где надо, а у наших долбонатов до сих пор нет чёткого определения физическим единицам. Поэтому спорят как лучше вакуум назвать, эфир или кефир. Вот только на выходе КПД такого спора - хрен целых хрен десятых. Всё уже есть.

_________________
Не хватит никакого здоровья, чтобы приспособиться к этому глубоко больному обществу(Кришна Мурти)/Горшки не Боги обжигают (многовековая классика)


bazarov | Post:419502 - Date: 03.06.13(21:13)
MPR Пост: 419482 От 03.Jun.2013 (09:51)
жесть какая....
Заряд кулона - это энергетическая единица
"это" или "-" надо определиться, вместе если писать палишься...
Вообще после этой фразы читать дальше желание пропало, с тем же успехом можно порассуждать о напряжении вольта или о токе ампера, сделать там вид многозначительный и щеки надуть обязательно, что бы "такие тупые" академики соплями подавились.
Ну да ладно, едем дальше
"Как видим из преобразований в реальности электрическая энергия это заряд"
ну допустим и что?
"КИНЕТИЧЕСКАЯ ЭНЕРГИЯ – ЭТО КОЛЛИЧЕСТВЕННЫЙ ПОКАЗАТЕЛЬ СУММЫ ЗАРЯДОВ ПРИХОДЯЩИЙСЯ НА ИНТЕРВАЛ ВРЕМЕНИ."
Закидываем в копилку маразмов слово "колличество", кстати, а че не через А написать? Если уж на новые рельсы так все по новому, включая свою трактовку грамматики, заодно появится возможность назвать дураком учителя по русскому языку.
Ладно, отвлеклись... продолжим
"и после этого хоть один эмбицил академический будет Вам, уважаемые
читатели, доказывать что электрическая мощность
является квадратом от тока"
Как говорится следите за руками, разговаривали о энергиии и тут бац - мощность, гениально.
Дальше этот бред читать не стал уж извиняйте....
ЗЫ
Слово имбецил зря обидел [ссылка] , вообще клево наблюдать как человек делающий три ошибки в слове "жопа" пишет научный трактатЪ "о вреде всего сущего".
Базарыч чего это тебя так вштырило, ну не уважаешь ты тупых академиков, хрен бы с ними, ты бы хоть уважал читателей твоего опуса, на ошибки бы проверил хоть в офисе, теплое с мягким свел воедино, а то как наперсточник ей богу.... следите за руками....?


Специально весь пост выделил. Потом сотру и свой и твой. Пока языками почешем.
1. Ты знаешь что существует кулонометр? А что он измеряет? А что такое заряд?
2. Если желание читать пропало - нехрен было вообще сюда свой нос сувать.
....
МПР, если ты сюда пришёл грамматику проверять - мне это пох и не интересно. Ты вообще понял про что тут речь идёт? И если я говорю что МСН тупой - значит тупой, потому как проверено временем. Если тебе его так жалко можешь в ряд с ним становиться. От научной швали кроме зубоскальства толку не вижу уже который год. Тут вообще нормальных учёных в упор нет. Был Дудиков и тот утёк...

Вывод: если тебе интересна обсуждаемая тема то давай спорить в рамках разумного. Моя точка зрения изложена. А вот нахрена ты написал много букв и слов ниочём - для меня загадка. Ни смысла, ни цели - ничего. Ну пишу я с ошибками и что? Сейчас начало второго ночи и мне пох на всю орфографию. А если продолжишь в том же духе и на тебя будет пох. Конструктив давай.

_________________
Не хватит никакого здоровья, чтобы приспособиться к этому глубоко больному обществу(Кришна Мурти)/Горшки не Боги обжигают (многовековая классика)


bazarov | Post:419503 - Date: 03.06.13(21:41)
aleksej2802 | Post: 419490 - Date: 03.06.13
Была инфа, где через проводник медный ,помещенный в кольцевые магниты с перемычками из тонкого диэлектрика,начинал протекать эл.ток.
Вспомним Гребенникава "мой мир"--эффект форм...
Патент по заточке лезвий, представляющий из себя картонную пирамиду
определим, в чем заключаются особые Свойства алюминия(золота, серебра и платины) в отличие от других материалов --в том числе и с позиций эзотерики...
Ацюковского теорию знать в данной ситуации просто необходимо!, но и квантовая теория в данном случае лишней не будет. Голография-? Ритмодинамика--в какой то мере ... ОПТИКА---знать свойства преломления лучей на уровне представлений желательно
Ну а теперь попробуй провести самостоятельный анализ с учетом моих предыдущих постов в этой ветке, и ТОРА(где пример с вентилятором), Туриста(формы и.... ), кое что и у шкафа промелькивало...

Сильно написано.... Шкафа уже года два не читаю. У туриста только последнее предложение обычно смысл имеет. И что тогда мне у них нового и интересного смотреть?

Думаю обсуждение изотерики опустим и с "объективной" реальности начнём. А начнём с того что любая мысль преобретает во времени всякие трактовки сводящие правильной ход рассуждений на нет. К примеру гранит имеет фоновое излучение радиации. По классике из гранита постоянно вылетают некие частицы несущие заряд, поэтому тела находящиеся вблизи радиоактивных элементов со временем преобретают некий заряд. Считается что радиоактивный распад при развале рдиоактивного вещества ещё и заряды отдаёт. Вот только не догадались сказать откуда этот заряд берётся. А ещё наукой установлено что в полях радиоизлучений электростатический заряд уменьшается, ибо радиоизлучение возбуждающее газы делает зоны проводимости и по воздуху течёт ток. Поэтому по классике работа такой пирамиды вроде и разрешена на академическом уровне, но запрещена на электротехническом. К примеру положи на металлическую поверхность мокрую тряпку на Солнце и с высыханием воды стол примет некий заряд. Чистая физика - никакой отсебятины. Заряд тот же а принципы его добывания разные. Если пойти по пути упрощения то гранит вообще оборачиваем фольгой затем помещаем в аквариум и опять фольгой заворачиваем. Получаем источник тока основанный на радиации.

Отдельно про Ацюковского. Вот только не надо его сюда приплетать. У него газовая механика сплошных сред. Конденсаторные эффекты он мельком упоминает. К примеру витая пара лучше проводит в помеховых радиоизлучениях сигнал и этому есть полное доказательство и математическое и приборное. Он в основном пишет что действительно работает. Один рабочий прибор ставит в неудобную позу сто теорий. К примеру после того как я своими руками проверил что не существует и противоречит книжкам - авторитетов больше нет.

Алексей, пирамида меня заинтересовала только формой исполения. Потому что это простой генератор подобный Вандеграфовскому. Только в качестве источника заряда выступает слабый радиоактивный фон. Все эти формы с тайными числами мутота полная. К примеру все знают какая антена лучше всего подходит на определённую частоту, но в виду негабаритности оной пользуются пропорциями. И так везде.
Еще, прочто Родионова статью, где он вскрывает факт фальсификации таблицы Менделеева---это на 100% относится к данной конструкции!
ДЕРЗАЙ--ДОРОГУ ОСИЛИТ ИДУЩИЙ.

Не умничай - пальцем покажи куда идти 😭.

_________________
Не хватит никакого здоровья, чтобы приспособиться к этому глубоко больному обществу(Кришна Мурти)/Горшки не Боги обжигают (многовековая классика)


олег-джан | Post:419511 - Date: 04.06.13(02:17)
bazarov | Post: 419501
Пока наши доморощеные академики трындят за бугром вроде год назад собиралсиь выпускать батарейки для часов со сроком службы 10 с начинкой толь из радиоактивных эелементов толь изотопов. Думаешь не сделают?

Хм...удивил...
Ваня,все сделано еще в 50-х годах...
Причем не только на термоэдс, но на фотоэффекте и электростатические...
И 10 лет-это вообще не срок...
Если, допустим, солнечный элемент радиевой краской намазать- у него полураспад
почти 1600 лет...сам кристалл кремния раньше деградирует...
А потребление у совковых *электроника-5* было 1 мкА....
то есть потреба= току саморазряда...
а японская фирма "Сони" уже лет 10 выпускает высококачественные ламповые усилители с жидкостным трансформатором.

Откуда дровишки?
Насколько я понимаю, там из колонок будет сплошной *белый хруст* раздаваться...
Ну и если будешь в Минске-заедь в институт физики ваш, на окраине который,
напросись в гости в фирму РИФТЕК, и посмотри что ребята вытворяют...
Причем их оборудование по всему миру закупают...и не третьего мира
страны, а успешные капиталисты...

_________________
Обьективная реальность-бред,вызванный недостатком алкоголя в крови...


aleksej2802 | Post:419514 - Date: 04.06.13(03:29)
Читай внимательно и думай--я тебе путь указал. Ну фонит гранит, и что?Ты зарядил конднсатор-снял энергию с него--и все!заново цикл повторять?
сказано---надо создать условия, при которых будет обеспечено перетекание чегото из одного положения в другое(плотина на речке, перепад высот, разность давлений в потоке.....)---я сказал про ассиметрию--пирамида посредством эффекта форм в пространстве вызывает неравномерное искажение поля , или движения еще чегот то(разбираться надо, пробовать , эксперементировать) ТАК ПОНЯТНЕЙ?
Если идет поступление энергии из внутреннего объема пирамиды, то по шпильке осуществлена наибольшая ее концентрация! изменяя свойства среды внутри пирамиды заполнением, мы автоматически меняем плотность потока сфокусированной энергии на шпильке по высоте--а это напоминает что? разностьпотенциалов====т.е.обеспечиваютсчя условия для перетекания чего то из точка а в точку б. Далее, если скорость движения по стержню чего то превышает критическое значение, то образуются завихрения....
думать харошо полезно--ВРЕДНО ДУМАТЬ ПОВЕРХНОСТНО!
ИЗОТЕРИКУ выпускают из внимания плохо думающие.
Набери в поисковике Родионов--что там умничать? просто прочесть! У Менделеева есть элемент первооснова, из которого состоят все элементы, который есть основа эфирной среды. Ацюковского зря игнорируешь---ибо все частицы построены по законам гаодинамики.
зайди в курилку--и понаблюдай, как пускают дымовые кольца курильщики, как эти кольца ведут субя!--это ТОРы, образования, на которых построена вся вселенная.

bazarov | Post:419521 - Date: 04.06.13(05:17)
олег-джан | Post: 419511 - Date: 04.06.13
Ваня,все сделано еще в 50-х годах...

Сделано но не внедрено. Зато сейчас доцентов развелось как котов лишайных на помойке.

Олег, только вчера учавствовал при демонтаже мамографа. Даже не буду рассказывать про качество изделия. Все эти игры в войнушку странные, такое чувство что никто у нас не хочет жить чуть лучше. А, ведь, наши могут и лучше сделать.
Насколько я понимаю, там из колонок будет сплошной *белый хруст* раздаваться...

Не будет. Просто внутреннее сопротивление такого трансформатора велико и петля гистерезиса почти отсутствует. Потерь почти нет.

aleksej2802 | Post: 419514 - Date: 04.06.13
думать харошо полезно--ВРЕДНО ДУМАТЬ ПОВЕРХНОСТНО!

Не верю я во всякие пирамиды. А если бы наши предки не пирамиды а подобие спутниковых тарелок построили? В геометрии только у сферообразных фигур есть концентрация. Любая сила всегда прилагается строго пенпердикулярно и любое отражение имеет одинаковый угол с первичным лучом. Сфера - самая идеальная фигура в природе, не пирамида.
ИЗОТЕРИКУ выпускают из внимания плохо думающие.

При слове ИЗОТЕРИКА на ум приходит две вещи:
1. Шаман с бубном,
2. МСН запускающий свой вечный двигатель,
3. Первое и второе вместе взятое.
😭

Пока нашёл только одного Радионова....
[ссылка]
image
.jpg

_________________
Не хватит никакого здоровья, чтобы приспособиться к этому глубоко больному обществу(Кришна Мурти)/Горшки не Боги обжигают (многовековая классика)


turist1 | Post:419527 - Date: 04.06.13(05:43)
bazarov Пост: 419503 От 03.Jun.2013 (22:41)
aleksej2802 | Post: 419490 - Date: 03.06.13
Была инфа, где через проводник медный ,помещенный в кольцевые магниты с перемычками из тонкого диэлектрика,начинал протекать эл.ток.
Вспомним Гребенникава "мой мир"--эффект форм...
Патент по заточке лезвий, представляющий из себя картонную пирамиду
определим, в чем заключаются особые Свойства алюминия(золота, серебра и платины) в отличие от других материалов --в том числе и с позиций эзотерики...
Ацюковского теорию знать в данной ситуации просто необходимо!, но и квантовая теория в данном случае лишней не будет. Голография-? Ритмодинамика--в какой то мере ... ОПТИКА---знать свойства преломления лучей на уровне представлений желательно
Ну а теперь попробуй провести самостоятельный анализ с учетом моих предыдущих постов в этой ветке, и ТОРА(где пример с вентилятором), Туриста(формы и.... ), кое что и у шкафа промелькивало...

У туриста только последнее предложение обычно смысл имеет. И что тогда мне у них нового и интересного смотреть?

Сходи в зоопарк, найди стаю макак и попытайся изложить им чего нибудь...Например теорему Пифагора.
Будет ли она для них иметь смысл?
Значит ли это что в теореме Пифагора нет смысла если ее не понимают обезьянки?))))




bazarov | Post:419582 - Date: 04.06.13(18:07)
Сходи в зоопарк, найди стаю макак и попытайся изложить им чего нибудь...Например теорему Пифагора.
Будет ли она для них иметь смысл?

Зачем зоопарк если есть бесплатный цирк?
[ссылка]

Последний раз спрашиваю, есть у кого мысли или соображения по поводу заряда или нет?

_________________
Не хватит никакого здоровья, чтобы приспособиться к этому глубоко больному обществу(Кришна Мурти)/Горшки не Боги обжигают (многовековая классика)


<] [ 1 | 2 | 3 | 4 | 5 | 6 | 7 | 8 | 9 | 10 | 11 | 12 | 13 | 14 | ... | 30 ] [>
У Вас нет прав отвечать в этой теме.
Форум - Научные идеи, теории, предположения... - идеи и теории, научные и бредовые... - Полное уравнение ЗСЭ - Стр 4
🏠 Главная | 📚 Содержание | 💬 Форум | 📁 Файлы | 📩 Контакт