[ВХОД]

28.03.26(07:19)

www.skif.biz

Альтернативная энергия. Оставь надежду, всяк сюда входящий...

🏠 Главная | 📚 Содержание | 💬 Форум | 📁 Файлы | 📩 Контакт

📱 | 🖨️

Форум - Резонансные генераторы - Электронные генераторы (схемотехника) - Вариант резонансного генератора. Обсудим? - Стр:3
<] [ 1 | 2 | 3 | 4 ] [>
Модератор: transwall
Первый пост темы: transwall Post: #52573 От:06.01.2007 (17:32)
В результате экспериментов в симуляторе появилась такая схема.
Реального устройства пока не пробовал - не купил ещё транзисторы.
Да и конструкция трансформатора не известна.

Обсудим?
zimnyaya | Post:783479 - Date: 14.05.22(16:31)
dedivan Пост: 783457 От 14.May.2022 (14:57)
zimnyaya Пост: 783453 От 14.May.2022 (14:10)

Не получилось создать параметрическую генерацию

А почему ты называешь ее параметрической?
Обычная генератор из теории цепей- усилитель с питанием, задержка и обратная связь. Только в качестве усилителя- магнитный материал со своей задержкой намагничивания и источником питания в виде тепловой энергии окружающей среды.

Потому что усилители, обратные связи и задержки - это вообще из другой оперы.
Речь о параметрическом трансформаторе.
На выходе у него параметрический контур из конденсатора и вторичной обмотки, а на первичную подаётся сигнал от генератора накачки 2 раза за период.

И хватит уже приплетать везде про "тепловую энергию окружающей среды".
Вам инженер всё обьяснил, что там происходит, четко и ясно
И я подтверждаю его слова, что звон этот от касания сердечника чисто реактивной природы, энергии в нем нет.
И уж тем более там нет никаких тепловых энергий, окружающих сред и прочих воображаемых единорогов

_________________
Желудь-теоретик знает, как вырасти в дуб (c) Кнышев


dedivan | Post:783482 - Date: 14.05.22(16:50)
zimnyaya Пост: 783479 От 14.May.2022 (16:31)

Вам инженер всё обьяснил, что там происходит, четко и ясно

Это совсем другое. Обычная электростатика. И колебания там не гармонические.
А тепловая энергия в окружающей среде есть и глупо ее отрицать.
Просто глупо.


_________________
я плохого не посоветую


zimnyaya | Post:783509 - Date: 14.05.22(20:14)
dedivan Пост: 783482 От 14.May.2022 (16:50)
zimnyaya Пост: 783479 От 14.May.2022 (16:31)

Вам инженер всё обьяснил, что там происходит, четко и ясно

Это совсем другое. Обычная электростатика. И колебания там не гармонические.
А тепловая энергия в окружающей среде есть и глупо ее отрицать.
Просто глупо.


Конечно она есть, только ее никто не отрицает.
Отрицается ее причастность к этой катушке на феррите.

_________________
Желудь-теоретик знает, как вырасти в дуб (c) Кнышев


Ingener | Post:783512 - Date: 14.05.22(20:36)
Тонкость в том, что сама по себе энергия бесполезна.
Мы все накачаны огромной энергией - движемся со скоростью самолета вокруг оси вращения планеты.
Для использования во благо необходимо иметь градиент этой самой энергии.
Т.е. точку, за которую можно "зацепиться", чтобы слегка выпасть из общего потока энергии.


Sergej_ | Post:783514 - Date: 14.05.22(20:42)
dedivan Пост: 783344 От 13.May.2022 (15:48)
Sergej_ Пост: 783317 От 13.May.2022 (11:43)
Дедушка как обычно на ушах стоит. Ему все равно что, лишь бы перевернуть.

Темный ты как мой башмак. Все неграмотные даже не подозревают, что дедушка им обычный букварь пересказывает.
Дедушка, твой портрет впечатляет, ты тот еще красавец. А про букварь - ты ведь его даже издали не видел, каждый твой пост со враньем.

Sergej_ | Post:783516 - Date: 14.05.22(20:53)
dedivan Пост: 783482 От 14.May.2022 (16:50)
zimnyaya Пост: 783479 От 14.May.2022 (16:31)

Вам инженер всё обьяснил, что там происходит, четко и ясно

Это совсем другое. Обычная электростатика. И колебания там не гармонические.
А тепловая энергия в окружающей среде есть и глупо ее отрицать.
Просто глупо.
Да, именно глупцы рассказывают про замерзающие при зарядке аккумуляторы. У всех греются, только у безумного дедушки замерзают. Именно глупцы и мошенники рассказывают про замерзающие трансформаторы. Опять же, у всех трансформаторы греются подводимой из сети мощностью, а у безумного дедушки они из внешней среды тепло выкачивают. Любит дедушка на ушах стоять, это его любимая поза. Причем заявления то его всегда не подтверждены никакими доказательствами, максимум на что он способен это надувать щеки и хамить в качестве "аргументации", это единственная его "аргументация".

sairus | Post:783518 - Date: 14.05.22(21:39)
Разве трансы на постоянке работают?

_________________
Каждый тезис, должен быть достаточно обоснован.


JnoVa | Post:783521 - Date: 14.05.22(21:49)
На самом деле, дед говорит много правильных мыслей. Возможно не всегда сдержано говорит, но это,скорее всего, от того, что уже много раз обращал внимание на ошибки людей, а сдвигов до сих пор нет.
Отвечайте аргументировано и не будет возмущений. А вообще есть выражение - век живи, век учись. Это лентяи придумали продолжение к этой фразе.

_________________
В каждом из нас спит гений... и с каждым днём всё крепче.


dedivan | Post:783522 - Date: 14.05.22(21:57)
Ingener Пост: 783512 От 14.May.2022 (20:36)

Для использования во благо необходимо иметь градиент этой самой энергии.


Ой, золотые слова. Да еще чтобы градиент был направлен к тебе.
Для тепловой энергии это означает, что ты должен снизить свою температуру.
Вот много-много лет назад был открыт термомагнитный эффект, оказывается железячки охлаждаются при намагничивании.
Знаешь кто открыл его и когда?
Любителям википедии тут полный облом. Учебник нужно читать.

_________________
я плохого не посоветую


олег-джан | Post:783527 - Date: 14.05.22(22:28)
.

график
Размер: 23.93 KB

_________________
Обьективная реальность-бред,вызванный недостатком алкоголя в крови...


Ingener | Post:783535 - Date: 14.05.22(22:48)
Ersh Пост: 783519 От 14.May.2022 (21:39)
Схемка, показывающая приток зарядов, когда токи в катушках бегут в разные стороны. Посередине между катушками проявляется зона разряжения среды.

Ох уж этот "приток" или "подсос" неких "зарядов из среды". По кабелю заземления или прямо из воздуха. Самый популярный принцип объяснения работы СЕ устройствы 😎
А кому нужны эти заряды? Их всегда и везде хватает и так.
Работу по их перемещению где взять?
Землекоп выкопает яму больше, если ему вместо одной лопаты дать три?

sairus | Post:783563 - Date: 15.05.22(09:52)
Ersh Пост: 783520 От 14.May.2022 (21:41)
sairus Пост: 783518 От 14.May.2022 (21:39)
Разве трансы на постоянке работают?
когда ключ замыкается происходит импульс тока. Не на постоянке работает, а импульсно. Схему глядим в начале давал.

При отключении тока,магнитное поле вокруг катушек исчезает, Исчезновение магнитного поля, это такое же изменение, как и появление магнитного поля, Любое изменение магнитного поля индуцирует эдс в проводе катушки. Я не знаю что именно не позволяет тебе усомниться в законе сохранения энергии, стереотипное мышление или боязнь отбиться от стада, это не важно, но эта слепая вера в закон сохранения энергии не позволянт тебе и многим другим, поверить в то, что электроэнергия может появиться в проводе в момент отключения тока по причине исчезновения МП. Именно слепая вера в зсэ заставляет тебя выдумывать нелепые объяснения того, от куда появляется эта энергия. По этому ты обьясняешь это явление, как подсос энергии из пресловутой среды. Каждый ищет своё обьяснение этому явлению, желая показать свою индивидуальность подхода, но по сути-то разница только в способах, остаться в рамках стойла под названием ЗСЭ.:)

_________________
Каждый тезис, должен быть достаточно обоснован.


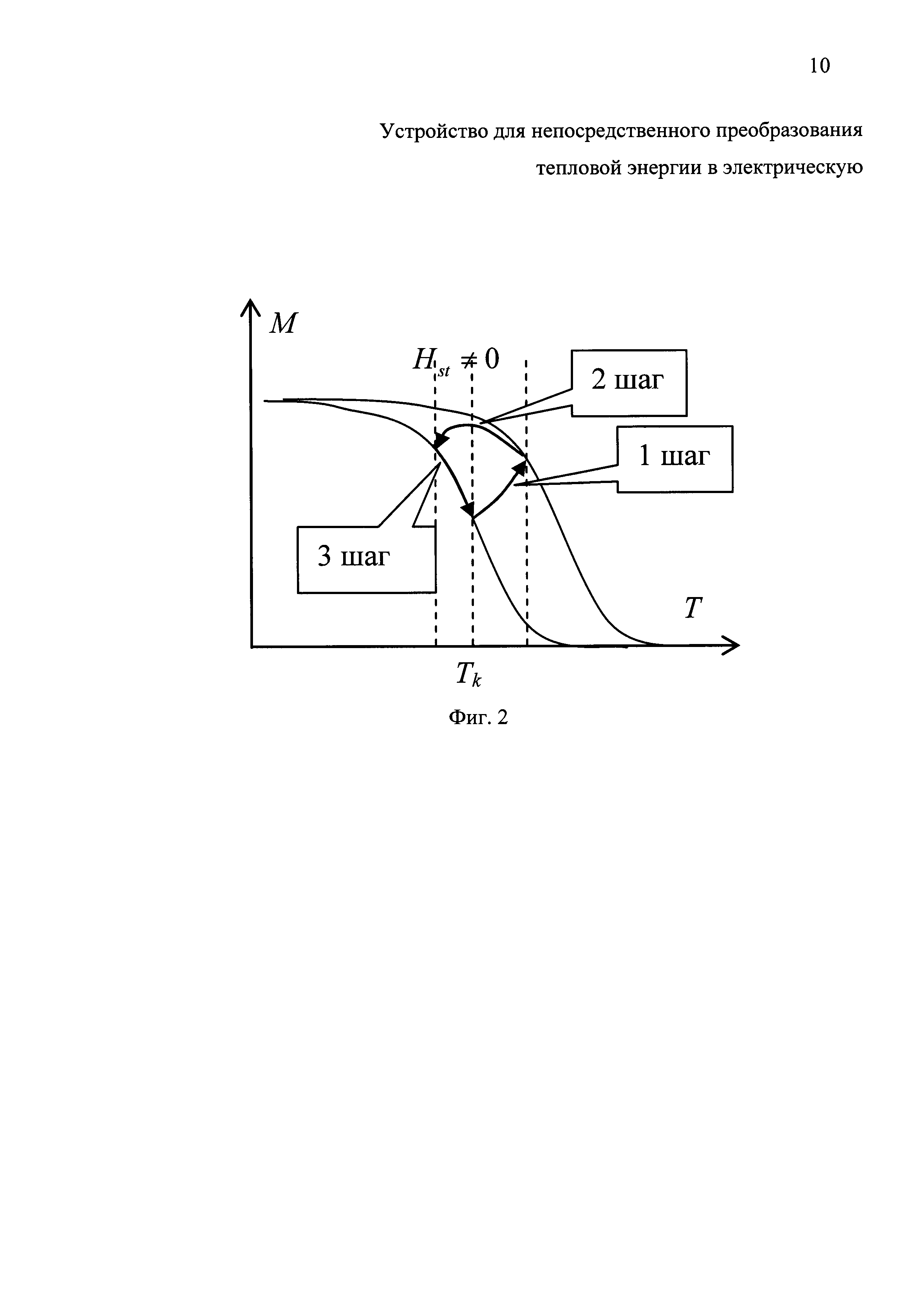
dedivan | Post:783568 - Date: 15.05.22(11:10)
олег-джан Пост: 783527 От 14.May.2022 (22:28)
.

Да, сейчас все в основном бьются за градусы охлаждения, снижение стоимости холодильника, а нужно смотреть на генерацию электричества.

5bc287.pdf
Размер: 404.40 KB

_________________
я плохого не посоветую


street | Post:783640 - Date: 15.05.22(18:44)
Ingener Пост: 783369 От 13.May.2022 (20:13)
Теория "поворота доменов" вряд ли является истинной.
Ее опровергает простой опыт.
Возьмем сердечник с двумя ортогональными обмотками.

пояснение -
если организовать колебательный контур с одной из обмоток, а на вторую подавать любой сигнал, в т.ч. можно даже полностью намагнитить сердечнник до полного насыщения - для второй обмотки ничего не изменится, частота будет та же,

А амплитуда, добротность?... Как-то опрометчиво, имхо, судить о взаимодействии только по одному параметру из нескольких.

_________________
Главное в мелочах


street | Post:783663 - Date: 15.05.22(22:12)
Ersh Пост: 783654 От 15.May.2022 (21:08)
Я подумал, и пришел к выводу, что первичные обмотки(электромагниты) можно запитать постоянкой, кое что промодулировать и получить на вторичке переменку.

Ну,... это не ново. Ещё Фарадей об том всем рассказал. Ну, кроме тебя, конечно.

Я разгадал принцип работы генератора Фигуэйры.

Не,.. это вряд ли.

_________________
Главное в мелочах


sairus | Post:783666 - Date: 15.05.22(22:20)
ЁРШ, энергия от информации не сильно - то и отличается. Информация не существует без носителя, энергия тоже без носителя не бывает, Физически в чистом виде, информации не существует, энергии физически в чистом виде тоже не существует. Энергия это сравнительная характеристика, а ты о ней как о веществе рассуждаешь. Приведи пример энергии в чистом виде. Есть у неё физические свойства? Масса, объём, цвет, запах?

_________________
Каждый тезис, должен быть достаточно обоснован.


sairus | Post:783699 - Date: 16.05.22(09:44)
Ersh Пост: 783692 От 16.May.2022 (07:08)
sairus Пост: 783666 От 15.May.2022 (22:20)
ЁРШ, энергия от информации не сильно - то и отличается. Информация не существует без носителя, энергия тоже без носителя не бывает, Физически в чистом виде, информации не существует, энергии физически в чистом виде тоже не существует. Энергия это сравнительная характеристика, а ты о ней как о веществе рассуждаешь. Приведи пример энергии в чистом виде.

Информация - это когда ты считываешь состояние материи(различными устройствами, в том числе своими органами) Т.е.ты можешь считывать это одно и тоже состояние бесконечное число раз, пока материя не преобразуется, тем более для считывания инфы, ты сам тратишь энергию. А энергия (понятие виртуальное) - это момент преобразования материи,и повторно(или бесконечно) ты не можешь это повторять без обратного преобразования.
К чему эти разборки не по теме? Уподобляешься некоторым?

Хорошо давай по теме. Тремя строками выше ты говоришь , что энергия понятие виртуальное.
Ты предлогаешь устройство, которое подсасывает из среды виртуальное понятие?
Ты веришь в интеллектуально несостоятельный закон, Закон сохранения виртуального понятия. по этому мои вопросы для тебя неудобны и раздражительны и не только для тебя. У всех слепо веруюших в этот закон, мои вопоосы вызывают когнетивный десонанс, раздражение и психоз. На основную биомассу умеющую только булькать, мне поплевать. Но ты мой друг, к тому же изобретатель (это не каждому дано), по этому я не могу равнодушно смотреть, как ты заблуждаешься.
Я задаю вопоосы не для того, чтобы получить на них ответы, а для того что бы ты ответил на них самому себе. Сейчас тебе обидно, что я с тобой спорю, но вполне возможно, что когда-нибудь ты будешь этим гордиться. ))) Слыхал такое выражение?
"Платон мне друг, но истина дороже!"

_________________
Каждый тезис, должен быть достаточно обоснован.


dedivan | Post:783724 - Date: 16.05.22(13:51)
sairus Пост: 783699 От 16.May.2022 (09:44)

ЁРШ, энергия от информации не сильно - то и отличается. Информация не существует без носителя, энергия тоже без носителя не бывает,

Ты ему с первого класса начинай рассказывать.
У маши есть яблоко и у пети есть яблоко- сколько у них яблок?
А если петя спрячет яблоко в карман? Как сосчитать?
Если есть информация, что петя спрятал яблоко, то два, а если никто не знает? А может он уже съел его?
Информация равна яблоку?

_________________
я плохого не посоветую


Ingener | Post:783732 - Date: 16.05.22(14:22)
Никому не показалось, что тут слегка противоречие




Размер: 35.34 KB

BAP | Post:783742 - Date: 16.05.22(15:53)
Ersh Пост: 783741 От 16.May.2022 (15:39)
[ссылка]

Ник изменил схему подключения обмоток. Но это дела не меняет,скалярный траф работает. Хотя всяким "замороженным", "стритикам", "дедам" бесполезно что то обьяснять.
Ты не понял даже , что он сделал.Какой скалярный траф.?? Чего не показываешь его включение?? И почему у него такая высокая частота резонанса??


Размер: 16.11 KB

BAP | Post:783745 - Date: 16.05.22(16:09)
Ersh Пост: 783743 От 16.May.2022 (16:00)
BAP Пост: 783742 От 16.May.2022 (15:53)
Ersh Пост: 783741 От 16.May.2022 (15:39)
[ссылка]

Ник изменил схему подключения обмоток. Но это дела не меняет,скалярный траф работает. Хотя всяким "замороженным", "стритикам", "дедам" бесполезно что то обьяснять.
Ты не понял даже , что он сделал.Какой скалярный траф.?? Чего не показываешь его включение?? И почему у него такая высокая частота резонанса??
ты не видишь как обмотки заложены на сердечнике? Посиди подумай....
Вижу, даже знаю как это работает. Сталкивался с таким. Безиндуктивный бифиляр ( ёмкость) вместе с катушкой вокруг сердечника.

street | Post:783753 - Date: 16.05.22(18:26)
Ersh Пост: 783741 От 16.May.2022 (15:39)
Ник изменил схему подключения обмоток. Но это дела не меняет,скалярный траф работает. Хотя всяким "замороженным", "стритикам", "дедам" бесполезно что то обьяснять.

Тот Nik настолько Mudrecov, что у него хватает ума к каждому киловатенному СЕ из очередного мотка проволоки, добавлять: но это не точно.
В отличие от тебя, тупень.

_________________
Главное в мелочах


Ingener | Post:783796 - Date: 17.05.22(09:56)
НеЛибераст Пост: 783789 От 17.May.2022 (09:04)
У тебя аппаратура неправильная. При 0,14 вольт ничего не будет работать.

Так у него там сверхпроводящий транзистор используется. Он даже вообще без напряжения работает.

BAP | Post:783838 - Date: 17.05.22(14:11)
Ersh Пост: 783807 От 17.May.2022 (11:16)
Ну что спецы, обьясняйте почему амплитуда колебаний практически не зависит от напряжения импульса.
Интересно , почему эти колебания появились на выходе. Это значит у тебя L1 и L2 не скомпенсированы. Мощность в импульсе у тебя практически остаётся постоянной(сколько даёт источник), не зависит от напряжения. Поэтому и амплитуда практически не зависит от напряжения.

neama | Post:783840 - Date: 17.05.22(15:05)
BAP Пост: 783838 От 17.May.2022 (14:11)
Ersh Пост: 783807 От 17.May.2022 (11:16)
Ну что спецы, обьясняйте почему амплитуда колебаний практически не зависит от напряжения импульса.
Интересно , почему эти колебания появились на выходе. Это значит у тебя L1 и L2 не скомпенсированы. Мощность в импульсе у тебя практически остаётся постоянной(сколько даёт источник), не зависит от напряжения. Поэтому и амплитуда практически не зависит от напряжения.

ты не скомпенсируешь их до идеала. они все равно будут отличаться. вот их суперпозиция и дает тетрагерцовый звон... реакция нашей метрики на него и кличится радиантом радиантом... ИМХО...
можно и не так а ловить пучности на длинной линии. тоже получишь белый звон...

_________________
Раздражайтесь, это улыбает...


<] [ 1 | 2 | 3 | 4 ] [>
У Вас нет прав отвечать в этой теме.
Форум - Резонансные генераторы - Электронные генераторы (схемотехника) - Вариант резонансного генератора. Обсудим? - Стр 3
🏠 Главная | 📚 Содержание | 💬 Форум | 📁 Файлы | 📩 Контакт