[ВХОД]

27.03.26(00:05)

www.skif.biz

Альтернативная энергия. Оставь надежду, всяк сюда входящий...

🏠 Главная | 📚 Содержание | 💬 Форум | 📁 Файлы | 📩 Контакт

📱 | 🖨️

Форум - Резонансные генераторы - Прочие резонансные генераторы - Как сделать из трансформатора трансгенератор? - Стр:45
<] [ 1 | ... 35 | 36 | 37 | 38 | 39 | 40 | 41 | 42 | 43 | 44 | 45 | 46 | 47 | 48 | 49 | 50 | 51 | 52 | 53 | 54 | 55 | ... | 254 ] [>
Модератор: bogatyr
Первый пост темы: bogatyr Post: #103285 От:29.02.2008 (20:19)
Простой вопрос: может ли обычный транс стать генератором?
РЕЗОНАНС.
И никакого транса.
image
dedivan | Post:118705 - Date: 02.06.08(23:39)
MSN Видит и очень даже.



Лучше было еще напряжение на вторичке показать- вот там и будет видно- перелив.

_________________
я плохого не посоветую



Petr | Post:118706 - Date: 02.06.08(23:41)
bogatyr Пост: 118678 От 02.Jun.2008 (20:52)

=Я предлогаю заставить работать магнитопровод тр-тора в режиме насыщения. =


А зачем первичке видеть вторичку если у нее ток и так прет дуром?
В режиме насыщения сердечника индуктивность стремится к нулю, сопротивление стремится к чисто активному обмотки.

=Ток нагрузки уже не сможет вызвать эквивалентной реакции первички. ...=

Согласен. Потому что там и тока то не будет, так что нечем брыкатся вторичке.
Доказать? Элементарно. Также в режиме насыщения поток Ф стремится к константе. Нет изменения потока де Ф по де те и нет индукции и самоиндукции ЭДС.

Твой девиз: С миру по нитке и бедному рубаха?.





dedivan | Post:118707 - Date: 02.06.08(23:53)
andy8mm
dedivan, зачем смеёшься,


Ну если серьезно хочешь, то сделай вот такой приборчик-
измеритель тока во вращающемся кольце.

Аналоговый вход МК подключен к токовому шунту, сигнал преобразуется в цифру,
этим сигналом модулируется высокая частота( та же тактовая от МК)
и на антенну.
Простой детекторный Приемник принимает это сигнал и на вход компа.

Как думаешь, какой ток будет в кольце, если раскручивать его со скоростью 1см/сек*сек.?


Размер: 4.71 KB

_________________
я плохого не посоветую



andy8mm | Post:118713 - Date: 03.06.08(01:10)
dedivan, раскручивать с ускорением 1 см/в секунду в квадрате?
разреши не делать а предположить?




Размер: 7.39 KB


FFFF | Post:118719 - Date: 03.06.08(05:05)

Как думаешь, какой ток будет в кольце, если раскручивать его со
скоростью 1см/сек*сек.?

Ток будет мизерным.Надо делать стопку из таких дисков ,соединить последовательно-параллельно и в итоге получится униполярка без магнитов??? И еще вопрос-что заставляет электроны смещаться-магнитное поле земли,трение об эфир или инерция ускорения?


YOGIK | Post:118731 - Date: 03.06.08(10:47)
Ну так что, может проверим блок-схему Богатыря.
Что есть в каждом селе: транс от ТВ ( пойдет или нет? ) на 180-270 Вт.
Провод 0,5-1,0 мм. Теперь - как мотаем бифиляку? Просьба к спецам по бифиляркам направить в нужное русло или высказать умные мысли.
Играет ли роль расположение вторички относительно первички?
Ну и самое главное - расчет бифилярки на опред частоту - длина провода, и намотка. Есть идеи добавляйте или будем сидеть и ждать?
ну а добавочный файл для тех кто любит почитать.

b590fb.doc
Размер: 144.50 KB


bogatyr | Post:118775 - Date: 03.06.08(18:01)
to MSN
Ты читать умеешь? Я говорил совсем о другом. Думаешь самый умный здесь?
Ты наверное не заметил , что упоминалось еще и об дополнительном генераторе НЕ синусоидального сигнала.


bogatyr | Post:118776 - Date: 03.06.08(18:05)
andy8mm Пост: 118702 От 03.Jun.2008 (00:07)
Ув.bogatyr, благодарю за предидущие ответы и
пользуясь вашим предложением перейти в эту ветку, продолжаю задавать вопросы:
17. Блок привязан к широте и долготе матушки Земли?
18. Блоком можно пользоваться на ходу?
(в смысле в электромобиль его можно установить?)
1кВт дырчик/генератор=>транс5кВт+блок"Б"=>двиглоРДТ(если Сибиряки успеют)или обычный ВРД.
19. блок можно получить в Украине или прийдеться с таможней заниматься? (там сейчас типа "порядок" наводят).
20. Форма питания для первички транса обязательно синус?

17. Не привязан.
18. Можно на ходу, на лету и т.д.
19. В любой стране.
20. Форма синус.


YOGIK | Post:118786 - Date: 03.06.08(18:49)
ПРосмотрел старые посты. Нашел схему Богатыря. Вроде железо ( или феррит ) от транса, а не стержень. AlexZander кричал, что у него все готово, но пропал - видать точно готов.
Намотал первый слой бифилярки - в 2 провода 35 витков (сумма 70), сижу над вторым. Типа думаю..........


OPTICUT | Post:118790 - Date: 03.06.08(19:00)
bogatyr Пост: 111363 От 16.Apr.2008 (15:08)
Вот выкладываю схему. Думаю , что она в комментариях не нуждается.
Работает по принципу кредитования населения. Население работает (кондер), банкир отдыхает.



Конструкция сердечника очень похожа
на патент от Мотовилова Д.Н. SU1350681A1


Размер: 6.49 KB


YOGIK | Post:118794 - Date: 03.06.08(20:06)
Вот набрал Мотовилов Д.Н. в ГУГЛе. Выдало и это

Д.Н.Мотовилов: "В настоящее время прогресс в электроэнергетике связан с бестопливными технологиями на базе теории потоков энергии Мотовилова (МАИ). За рубежом «обвально» развёртываются массовые производства бестопливных генераторов энергии (БТГ) для обеспечения производств, населения городов энергией без нефти, угля и газа, перевода транспорта с углеводородного топлива на электричество, в массовое производство США запущеные вечные батарейки для смартфонов, ноут-буков и фонариков (Российская технология!)".

"Вы уже миллионер? Тогда мы стучимся к вам!" (Лозунг рэкета)


Я же уже говорил, Геннадий, что провожу идеи НЦ своим специфическим методом "французского короля". Помнишь, он сложил американскую диковинку во дворце, приставил к передней двери охрану, а в задней сделал дыру. Так и привился картофель во Франции без картофельных бунтов и репрессий властей, которые были в нашей родной стране.
Другими словами, мы используем воровское устройство самой сути цивилизации, чтобы заменить её на неворовскую. Разумеется, личными миллионами тут и не светит.
Но "королём" стать можно.

Ну что - будем смотреть в "дырочку сзади" 🤬 или может кто дополнит.
Полезу искать Мотовилова по СКИФу


YOGIK | Post:118797 - Date: 03.06.08(20:19)
Особенно понравились 3 и 4 абзацы снизу.

Трансформаторы Мотовилова являются неотъемлемой частью бестопливных генераторов автора на основе его новой электродинамики. По своим т/э показателям они качественно опережают существующий уровень техники и кардинально решают проблему энергетики планеты, её теплового баланса. Полностью отпадает необходимость в использовании любых сырьевых генераторов энергии и таких неэкологичных устройств, как генераторы Серла. БТГ-М и ТМ лежат в основе комплексного проекта автора "Новая цивилизация Мотовилова" на базе новой философии, новой физики, новой космологии, новой биологии человека и новой государственности России.
По результатам исследований публикаций экспертами АБИ, автор номинирован на звание "Человек Года -2006" и на получение Золотой Медали "Свобода-2006".
Электродинамика, Техногенетика и Трансформаторы Мотовилова отмечены серебряной медалью международного жюри Женевского Салона Новаций в 1996 году, что стало выше оценки работ учёных ВЭИ им. Ленина (бронзовая медаль).

Создание силовых трансформаторов постоянного тока (СТПТ) было извечной мечтой учёных и инженеров всего мира почти с самого момента зарождения электротехники и появления первого трансформатора пензенца Яблочкова на Всемирной выставке в Париже в 1876 году.

Её безуспешно пытались осуществить многие известные имена, начиная с П.Л.Капицы. Интерес к СТПТ объясняется отсутствием реактивного сопротивления обмоток постоянному току и поверхностного эффекта при постоянном токе, что позволило бы в десятки раз улучшить технико-экономические показатели трансформаторов и трансформаторных преобразователей. В 1976-1996 г.г. в Пензе автором был разработан, а по сути - открыт, целый класс неизвестных ранее силовых схемотехник (СТПТ), названных его именем - Трансформаторы Мотовилова (ТМ).

К наиболее актуальным мировым задачам электротехники, помимо создания СТПТ, в начале 21 века естественно присоединилась и проблема создания достаточно эффективных полупроводниковых преобразователей для автономных источников энергии, в том числе для БТГ, стремительно вытесняющих из техники традиционные источники - в первую очередь из сферы военной и космической техники. И тогда оказалось, что обе задачи решены по сути одним и тем же изобретением - созданием класса преобразователей энергии нового поколения типа ТМ.

Дело в том, что особое, бесспорно приоритетное место среди БТГ стала занимать разработка Мотовилова, основная часть которого была выложена открыто в интернете в середине 2003 года, а до этого - в периодическом издании в 2000 году, и почти сразу затем же вызвала обращение к автору ряда производителей в ВПК РФ, уже несколько лет ломавших голову над непонятным науке эффектом ак. Валериана Соболева.

Открытые и опубликованные Мотовиловым новый закон физики - закон кругооборота энергии и эффект конвергенции потоков ЭМ энергии(стягивания её из бесконечности, процесс, обратный рассеиванию энергии и "тепловой смерти", впервые позволили дать строго научное объяснение генераторам Соболева и в десятки раз уменьшить их габариты, обеспечить надёжность и безопасность работы. При этом малогабаритные ТМ с кпд до 99,5% (против 30%-60% у аналогов) обеспечивают удельный общий вес БТГ-М порядка 1 кг/кВА и все необходимые параметры электрического напряжения и мощности на выходе генератора. Причём, как ни странно это звучит, но в основе физики работы собственно БТГ тоже оказался "заложенным" принцип работы ТМ на потоках ЭМ энергии Мотовилова.


Каким же образм работает ТМ?

Прежде всего, ТМ - это совокупность электромагнитного моточного компонента (ЭМК) из обычных материалов и ВЧ схемы управления (СУ). По первичной и вторичной обмоткам ЭМК текут постоянные силовые токи, магнитные потоки которых, как и во всяком трансформаторе, взаимно уничтожаются в магнитопроводе, а по обмотке намагничивания течёт ВЧ переменный ток намагничвания, создающий в магнитопроводе основной магнитный поток.

В результате, как впервые показал Мотовилов, в пространстве между обмотками возникает новый, неволновой вид ЭМ излучения (статический поток ЭМ энергии через пустое пространство). Поток энергии Мотовилова имеет постоянное мгновенное значение и направление в пространстве в течение всего полупериода времени работы ТМ. Затем, на следующем полупериоде работы ТМ, этот поток меняет своё направление на противоположное. При смене направления потока ЭМ энергии Мотовилова, ключи в схеме управления ТМ соответственно меняют и внешнее подключение его обмоток между входом ТМ и выходом/нагрузкой на противоположное. Таким образом, на всём периоде работы ТМ силовые токи в его обмотках остаются постоянными, а к нагрузке "во-время" подключается именно вторичная обмотка ТМ, несмотря на то, что поток энергии Мотовилова между обмотками периодически меняет направление.

В результате в ТМ были достигнуты все предполагаемые в истории техники "сказочные эффекты" СТПТ: - принципиально сняты все ограничения на рост мощности (хоть 100 мегаватт по сравнению с прежними 5-10 квт) - плотность тока в обычных медных обмотках практически поднята до плотности тока в сверхпроводниках - 40 а/мм и выше - в десятки и сотни раз снижены потери энергии (с 70% до 0,3%)

Для БТГ-М такие результаты означали фактически создание малогабаритного полностью и неграниченно автономного (независимого, свободного) экологичного источника энергии для личного транспорта, личного жилья, ведения подсобного хозяйства и обеспечения всей жизнедеятельности человека практически в любой точке Российской Федерации от тундры Севера до тайги Сибири и песков Средней Азии.




andy8mm | Post:118814 - Date: 03.06.08(22:38)
YOGIK, какие цены? Хочется конкретики, писать красиво многие умеют.

у bogatyrпорядок уже известен, 1000евро = блочок для 1фазного 5кВт транса.
bogatyr, скажите:
23. что на 100 евро можно заказать?
24. технология позволяет "доработать" блок питанияя к компьютеру?
(цель-превратить свой деск-топ в ноутбук.😊
25. Проверяли вы доработанный трансформатор на наличие гармоник в СЕ режиме? (то есть обратно в сеть он "фонит"?)


YOGIK | Post:118815 - Date: 03.06.08(22:42)
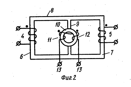
to Bogatyr и OPTICUT110H Post: 118790
Что кроется под номерами6,7,8,9.
Я так понял , что это железо транса и просто обозначены "плечи".
Тогда "плечо" 9 имеет разрыв или нет?
Что понимать под кольцом 10 ?
11 и 12 - это обмотки намотанные в 2 провода?



Petr | Post:118837 - Date: 04.06.08(07:15)
YOGIK |
Post: 118797 - Date: Tue Jun 03, 2008 9:19 pm

Откуда такую охинею сморозил?
А звучит как никролог....
= плотность тока в обычных медных обмотках практически поднята до плотности тока в сверхпроводниках - 40 а/мм и выше=

Помоги вставить глаза на место .... дальше слов нет, кроме мата.
Эти сказки расказывай дебилам в психушке.


andy8mm |
Post: 118814 - Date: Tue Jun 03, 2008 11:38 pm

Все еще детство в попе играет?


YOGIK | Post:118851 - Date: 04.06.08(09:37)
Извините, быстро прогнал 3 форума на скифе о Мотовилове...
Странно почему то мнение поменялось на 180 град.
Всем удачи от бывшего идеалиста.


AlexZander | Post:118852 - Date: 04.06.08(09:43)
Не говори гоп.. Тут быстро не получится...


queet | Post:118854 - Date: 04.06.08(10:14)
Bogatyr, а Вы можете изобразить осцилограммы токов первички и вторички Вашего генератора из трансформатора?


OPTICUT | Post:118877 - Date: 04.06.08(15:38)
Petr Пост: 118837 От 04.Jun.2008 (08:15)
YOGIK |
Post: 118797 - Date: Tue Jun 03, 2008 9:19 pm

Откуда такую охинею сморозил?
А звучит как никролог....
= плотность тока в обычных медных обмотках практически поднята до плотности тока в сверхпроводниках - 40 а/мм и выше=

Помоги вставить глаза на место .... дальше слов нет, кроме мата.
Эти сказки расказывай дебилам в психушке.





Здравствуйте, Петр.

Вот абзац полностью:


"Более того, впервые отпадает даже сама задача дорогостоящего сверхпроводящего исполнения обмоток ТМ: плотность тока в его обычных медных обмотках достигает плотности тока в сверхпроводниках за счёт кардинального повышения эффективности каналов охлаждения без опасности ухудшения динамических свойств ТМ соответствующим возрастанием индуктивностей рассеяния обмоток. "

В догонку к своему предыдущему посту патент Мотовилова может кто поймет о чем там речь и как оно работает

f88bee.pdf
Размер: 183.26 KB


bogatyr | Post:118926 - Date: 04.06.08(21:54)
queet Пост: 118854 От 04.Jun.2008 (11:14)
Bogatyr, а Вы можете изобразить осцилограммы токов первички и вторички Вашего генератора из трансформатора?

Токи синусоидальные. Ток во вторичке отстает от первички на угол 90.
Интересно то что магнитный поток - синус с обрезанными горбами. Такой поток наводит ЭДС импульсной формы. Чем больше ток вторички тем меньше длительность импулсов и больше их амплитуда. Поэтому дополнительный генератор имеет амплитуду в несколько раз большую, чем
подмагничивающий.
e770f5.lnk
Размер: 555 Bytes


Azazello | Post:118929 - Date: 04.06.08(22:09)
bogatyr Пост: 118926 От 04.Jun.2008 (22:54)
queet Пост: 118854 От 04.Jun.2008 (11:14)
Bogatyr, а Вы можете изобразить осцилограммы токов первички и вторички Вашего генератора из трансформатора?

Токи синусоидальные. Ток во вторичке отстает от первички на угол 90.
Интересно то что магнитный поток - синус с обрезанными горбами. Такой поток наводит ЭДС импульсной формы. Чем больше ток вторички тем меньше длительность импулсов и больше их амплитуда. Поэтому дополнительный генератор имеет амплитуду в несколько раз большую, чем
подмагничивающий.

Я все понимаю, только не пойму как получается этот самый угол ОТСТАВАНИЯ В 90 град.??? Ровно 90?
Магнитный поток в виде срезанной синусоиды - это понятно, это есть производная от синуса и меандра. Возникает масса гармоник высокого порядка


YOGIK | Post:118937 - Date: 05.06.08(00:01)
Вот распечатал патент из поста( OPTICUT110H | Post: 118877 ). Схема вроде простая: 15-16 сеть, 2-3-3-4 вроде бифилярная обмотка(по Мотовилову). 4 = 5 - равные противовстречные обмотки на крайних стержнях. 14 - импульсный генератор. Вроде примерно( ВО!!!!!) понятно, а дальше ..."Средний стержень 9 планарного магнитопровода 8 выполнен С РАССЕЧКОЙ, в которую встроен КОЛЬЦЕВОЙ СЕРДЕЧНИК 10, несущий две секции 11 и 12 обмотки управления."
Вот что такое рассечка среднего магнитопровода? - это зазор 1-2 мм на который одеваем ферритовый пояс(с двуму обмотками по краям, включенными тоже встечно)? или кто то увидел что то другое?
Ну и сравним с первоначальной схемой ДВД или ДЕДа(это по памяти, могу и ошибиться - не хочеться лазить снова)


Размер: 114.27 KB


YOGIK | Post:118940 - Date: 05.06.08(00:07)
Вот не могу найти пост ДЕДа ИВАНА, где он популярно рассасывал транс Мотовилова или у меня гальюны начались. О попеременном включении первички и вторички - вроде так понятно было?
Если кто скопировал и это не мой глюк ( в голове ) скиньте в личку.


AlexZander | Post:118953 - Date: 05.06.08(07:16)

Токи синусоидальные.

А можно картинку выложить?


queet | Post:118959 - Date: 05.06.08(09:18)
bogatyr Пост: 118926 От 04.Jun.2008 (22:54)
queet Пост: 118854 От 04.Jun.2008 (11:14)
Bogatyr, а Вы можете изобразить осцилограммы токов первички и вторички Вашего генератора из трансформатора?

Токи синусоидальные. Ток во вторичке отстает от первички на угол 90.
Интересно то что магнитный поток - синус с обрезанными горбами. Такой поток наводит ЭДС импульсной формы. Чем больше ток вторички тем меньше длительность импулсов и больше их амплитуда. Поэтому дополнительный генератор имеет амплитуду в несколько раз большую, чем
подмагничивающий.

Спасибо за ответ.
Токи синусоидальные. Ток во вторичке отстает от первички на угол 90.
Тут понятно. Сдвиг можно получить и без применения дополнительного генератора.
Но всёж-таки остаётся неясным: где наводится ЭДС импульсной формы ежели токи первички и вторички синусоидальны?

P.S. Почемуй-то пристёгнутое файло не открывается...



<] [ 1 | ... 35 | 36 | 37 | 38 | 39 | 40 | 41 | 42 | 43 | 44 | 45 | 46 | 47 | 48 | 49 | 50 | 51 | 52 | 53 | 54 | 55 | ... | 254 ] [>
Тема закрыта. Добавление новых сообщений невозможно.
Форум - Резонансные генераторы - Прочие резонансные генераторы - Как сделать из трансформатора трансгенератор? - Стр 45
🏠 Главная | 📚 Содержание | 💬 Форум | 📁 Файлы | 📩 Контакт