[ВХОД]
30.05.26(08:15)

www.skif.biz

Альтернативная энергия. Оставь надежду, всяк сюда входящий...

🏠 Главная | 📚 Содержание | 💬 Форум | 📁 Файлы | 📩 Контакт
 
Резонансные генераторы
Магнитные генераторы
Механические центробежные (вихревые) генераторы
Электростатические генераторы
Водородные генераторы
Ветро- и гидро- и солнечные генераторы
Прочие идеи (разные)
О форуме
Транспорт
Оружие
Научные идеи, теории, предположения...
Экономия топлива
Коммерческие вопросы
Струйные технологии
Торсионные генераторы
Новые технологии
Барахолка
Патентный отдел
Конструкторское бюро
Нейтронная физика
Торнадо и смерчи
Гравитация и антигравитация
Сделай сам. Советы.
Медицина и здравоохранение

📱 | 🖨️

Форум - Магнитные генераторы - Магнитные генераторы - Управление магнитным потоком. - Стр:1
[ 1 | 2 | 3 | 4 ] [>
Модератор: MSN
MSN | Post:799585 - Date: 04.09.22(18:45)
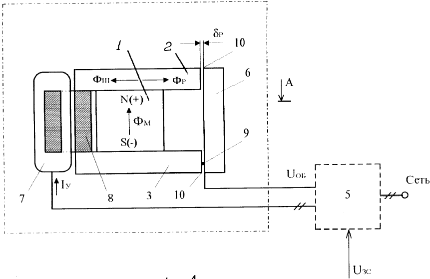
В этой теме не говорим ни о каком СЕ, только об управлении магнитным потоком. Это никакое не ноу-хау, способы известны давно, как механические, так и электрические, многие запатентованы, самые известные среди альтернативной тусовки это: МЭГ, НЕГ, мотор Флинна, всякие магнитные усилители и прочая, прочая, прочая. Но нигде, ни на одном форуме на просторах интернета нет внушающих доверия исследований из которых можно было-бы сделать выводы об энергетическом балансе этих устройств. Поэтому видимо придётся своими ручками. Для начала рассмотрим патент:RU 2 092 922

Да, если кто-нибудь владеет 3D моделированием, буду благодарен за помощь, нужно будет печатать каркасы для катушек и трансформаторов.



Размер: 107.57 KB

_________________
Говорите говорите, я всегда зеваю когда мне интересно. 99,9% всех СЕ устройств, - от неправильных измерений


stasis2 | Post:799607 - Date: 05.09.22(00:34)
В этой теме не говорим ни о каком СЕ, только об управлении магнитным потоком
давно реализовано на скифе есть файл magnetic technologi , я повторял работает как электромагнит например с удержанием за счет потока пост магнита . пульсирует мп пост магнита преракрасно , половинка сердечника так орет на 20 ваттах как сварочный в раб режиме причем промышленный. с табуретки девайс слетал от вибрации магнитопровода , выход не се тк пульсация мп не дает вихревого эп это брехня что пульс мп порождают вэп вэп порождает ПЕРЕМЕЩЕНИЕ мп как в генераторе . в трансе что первичка отдала (ВЭП ) то вторичка и снюхала .

bazarov | Post:799615 - Date: 05.09.22(01:39)
stasis2 Пост: 799612 От 05.Sep.2022 (01:13)
они же вроде по классике тождественны зачем их маркировать ?
😬.... Замечательный вопрос.... 😬
[ссылка]
https://wikimedia.org/api/rest_v1/media/math/render/svg/324b53ce0d5311eea17a050a6720bb4e5182b176
Это электромагнитная индукция по Фарадею. Она возникает лишь тогда, когда есть изменение напряжённости магнитного поля по времени. Чем выше скорость изменения напряжённости, тем выше ЭДС при том же токе. Классика. Максвелл на основании этих постулатов пытался сделать общую теорию поля и не срослось.... И уже 200 лет никак срастись не может... Просто есть исключения, где закон Фарадея не действует. Есть ещё порождение ЭДС за счёт токов смещения, при нулевой индукции. Много чего есть. И до сих пор это уравнения для переменных и постоянных полей никто не решил. Это очень сложная задача. Над ней бились самые одарённые умы последние 200 лет. Не всё так просто.

ПС. Как думаешь, если всё так просто, зачем доццент выложил какой-то патент с железякой, магнитиком и всего одной катушкой? Просто катушка и железо. Не всё так просто.

_________________
Не хватит никакого здоровья, чтобы приспособиться к этому глубоко больному обществу(Кришна Мурти)/Горшки не Боги обжигают (многовековая классика)


Ihtiandr | Post:799618 - Date: 05.09.22(05:03)
Давайте отбросим старье и попробуем взглянуть на МП, как на фундаментальное явление.
Сложный и нерешенный вопрос, что же оно такое есть.
Вроде создается движением носителя заряда.

Подумаем о спиновой природе.
Там что-то интуитивно напоминающее вращение самого носителя заряда.

Что если нам вращать постоянный магнит вдоль оси поля?
Какова будет энергетика изменения вращения, по сравнению с выхлопом от dФ/dt ?
Может это приведет нас к новым мыслям.

Не путайте с униполярным геной, у которого ЭДС вылазит за счет пересечения проводником линий МП.

_________________
Человек создан для счастья, как птица для работы


stasis2 | Post:799627 - Date: 05.09.22(07:49)
Она возникает лишь тогда, когда есть изменение напряжённости магнитного поля по времени.
почему тогда у меня на МЭГ пульсаций МП дохрена и никак индукции лишней не наблюдалось ? мп лезло в железо я проверял ) обмотка то железо обматывала ЛАМПОЧКА висела КПД наблюдалось 30 проц..... это при Епонических пульсациях МП , мб врет формула то не ?

MSN | Post:799671 - Date: 05.09.22(12:03)
Ну шо эдисоны... все отметились ?
А ведь я написал в начале: СЕ даже не обсуждаем. Кто хоть по диагонали прочел патент, должны были заметить две особенности, 1. управляющая катушечка это замкнутый магнитопровод типа ПЛ, и лежит она на боку и 2.намотана она на пермаллое, кстати индуктивность моей около 130 Гн. Базарау, ау!
Стенд я по быстрому собрал, работает, пермаллой исправно превращается в деревяшку небольшими затратами и перестает магнититься. Количественно ничего пока не измерял, все пока качественно.
Чтобы двигаться дальше, нужно собирать более качественную установку, а для этого нужно напечатать каркасы и кронштейны.
Повторяю вопрос, - кто из вас имеет опыт моделирования в 3D ?

_________________
Говорите говорите, я всегда зеваю когда мне интересно. 99,9% всех СЕ устройств, - от неправильных измерений


ФЕМЕ | Post:799678 - Date: 05.09.22(12:15)
MSN Пост: 799671 От 05.Sep.2022 (12:03)
Стенд я по быстрому собрал, работает, пермаллой исправно превращается в деревяшку небольшими затратами и перестает магнититься.

А обратно из деревяшки как, как размагничиваешь("магнитный накопитель")?

ЗЫ Хотя, там в цепи ярма тоже ведь магнитный контур, цель поток в шунте чисто на 90 град. смещать, а потом он, после снятия тока с катушки, сам взад возвращается?

_________________
«Сколь горестно не знать свой ум!»


MSN | Post:799687 - Date: 05.09.22(12:39)
stasis2 Пост: 799674 От 05.Sep.2022 (12:11)
А ведь я написал в начале: СЕ даже не обсуждаем

дык мы и не пытаемся .
У тебя чё то на магнитный модулятор похожее вырисовываетцо. там тоже регулировка МЮ ортогональным полем применялась. или я чё то нето увидел ?


сам патент подается как магнитный модулятор, (и это у меня работает) индукция в зазоре между магнитопроводом 2 и ярмом 6 исправно меняется примерно в 2 раза, но я поступил еще проще, центральный электромагнит - 1(у меня ) - притягивает (или не притягивает) модуляционную катушку. Это проще чем "перебрасывание потока" слева-направо. Перспектива - сделать двигатель.

_________________
Говорите говорите, я всегда зеваю когда мне интересно. 99,9% всех СЕ устройств, - от неправильных измерений


MSN | Post:799689 - Date: 05.09.22(12:44)
ФЕМЕ
А обратно из деревяшки как, как размагничиваешь("магнитный накопитель")?


Усе просто шеф, подал напряжение, пока течет ток, мю уменьшается, пермаллой = деревяшка, снял напряжение, ток прекратился, пермаллой снова ферромагнетик. В патенте есть график(фиг.6), читайте и будет вам щастье.

_________________
Говорите говорите, я всегда зеваю когда мне интересно. 99,9% всех СЕ устройств, - от неправильных измерений


stasis2 | Post:799692 - Date: 05.09.22(13:02)
ну теперь попробуй этой х..енатулиной поток пм регулировать мож лишку словишь)
пысы - СЕ не обсуждаем🤢
если не словишь то формулки то ВРУТ ети их м.... ВРУТЬ!!!
а иначе то уменьшая поток (уменьшая МЮ ) должны увидеть всплеск ЭДС ,
а увидим ли.....🙄

MSN | Post:799706 - Date: 05.09.22(13:44)
stasis2 Пост: 799692 От 05.Sep.2022 (13:02)
ну теперь попробуй этой х..енатулиной поток пм регулировать мож лишку словишь)
пысы - СЕ не обсуждаем🤢
если не словишь то формулки то ВРУТ ети их м.... ВРУТЬ!!!
а иначе то уменьшая поток (уменьшая МЮ ) должны увидеть всплеск ЭДС ,
а увидим ли.....🙄


Если внимательно прочитать патент, то можно увидеть что устройство заточено под двигатель и никакой не под МЕГ. Тоже самое я писал выше, но вы же писатели 😀

_________________
Говорите говорите, я всегда зеваю когда мне интересно. 99,9% всех СЕ устройств, - от неправильных измерений


MSN | Post:799749 - Date: 05.09.22(23:24)
Тэкс, гаспада-товарищи... получил интересный результат. Снял ВАХ своего пермаллоевого трансика и был оч удивлен. Параметры трансика, на каждой полуобмотке около 1200 витков ПЭЛ-0,14, сопротивление около 85 Ом, размеры набора 42х24х10 мм, ток догнал почти до 1А, он уже начал поджариваться, а насыщаться пермаллой не хочет. С такими параметрами впору собирать трансики для ламповиков....
Прошу помощь зала, а конкретно призываю Деда, нужно разобраться в этой чертовщине... 😀


Размер: 258.03 KB


Размер: 94.94 KB

_________________
Говорите говорите, я всегда зеваю когда мне интересно. 99,9% всех СЕ устройств, - от неправильных измерений


stasis2 | Post:799753 - Date: 06.09.22(05:21)
но вы же писатели
не умничай пальцем покажи😶
Тоже самое я писал выше
значит врут . двигатель кстати с кпд 100 проц независимо от режима (обычно макс кпд в области 70 проц нагр на вал) есть получше пихло сериесное изобретенное давно в книге эл машины громова там есть много интересного например генератор с компенсацией реакции якоря и пихло у которого компенсируется смещение магн полюсов под нагрузкой. есть двигатели с компенсацией ПЭДС прямо пачками (доп башмаки на статоре это защита от кругово огня) русским по белому - уменьшают выбросы ПЭДС.

MSN | Post:799765 - Date: 06.09.22(09:32)
олег-джан Пост: 799751 От 06.Sep.2022 (02:29)
он уже начал поджариваться, а насыщаться пермаллой не хочет. С такими параметрами впору собирать трансики для ламповиков....

Не понял, что тебя удивляет?
Что вода-мокрая?

Индукция насыщения пермаллоя около 1Тл, для железа 1,7-1.9, тоесть он при 2400 ампер витках должен был превратиться уже в деревяшку, ан нет....
Я знаю предположительно правильный ответ, но жду пока выскажутся старшие товарищи. Позовите Деда. (Позовите Вия)(С)
🤢

_________________
Говорите говорите, я всегда зеваю когда мне интересно. 99,9% всех СЕ устройств, - от неправильных измерений


dedivan | Post:799768 - Date: 06.09.22(09:53)
MSN Пост: 799765 От 06.Sep.2022 (09:32)
(Позовите Вия)(С)
🤢

Поднимите мне веки... (С)

Ой, какая горка! Если залезешь в насыщение, то обратный возврат к нулю опять идет через горку, кто же в горку толкать будет?



Размер: 162.80 KB

_________________
я плохого не посоветую


dedivan | Post:799793 - Date: 06.09.22(18:04)
MSN Пост: 799749 От 05.Sep.2022 (23:24)
ток догнал почти до 1А, он уже начал поджариваться, а насыщаться пермаллой не хочет.

Откуда ты это узнал? Ты форму сигнала тока смотри, а не величину.
У тебя там вместо горбушки полусинусоиды будет титька козья.

_________________
я плохого не посоветую


MSN | Post:799796 - Date: 06.09.22(18:31)
Дед, та ВАХ сделана на постоянке, потому как при индуктивности R=168 Ом; L=130Гн даже от 230В RMS переменки токи будут мизерные.
А теперь ответ на предыдущий пост про "горку":

Для пермаллоя я ожидал увидеть нечто image
">такое, а ты привел общий рисунок кривой намагниченности из учебника, непонятно для какого материала.

Для снятия вопросов, прогоню на переменке


Размер: 23.45 KB

_________________
Говорите говорите, я всегда зеваю когда мне интересно. 99,9% всех СЕ устройств, - от неправильных измерений


MSN | Post:799812 - Date: 06.09.22(19:56)
Деду и остальным любителям магнитных цацек:

Вот что переменный ток животворящий делает(С) 🤢
Снял на переменном токе осцилограмму: желтым - напряжение источника, синим ток через трансформатор 1mV=1mA/
Порог очень острый, изменение буквально на плюс/минус 1V приводит к росту тока от 3мА до 10 ма и сердечник влетает в насыщение. То-есть моя осциллограмма полностью соответствует кривой намагничивания пермаллоя, который имеет достаточно прямоугольную характеристику, все по классике.
Пы.Сы. Кстати на ВАХе видна попытка вхождения в насыщение 30В 0,15А у меня и тактильно при этом напряжении и токе трансик перестает притягиваться к ярму.
2_Пы.Сы. Таким образом, если я не ошибся с количеством витков, то насыщение наступает при 2400*0,01А=24 ампер*витков. Я считаю это просто отличным результатом.


Размер: 117.14 KB


Размер: 23.45 KB

_________________
Говорите говорите, я всегда зеваю когда мне интересно. 99,9% всех СЕ устройств, - от неправильных измерений


dedivan | Post:799828 - Date: 07.09.22(08:37)
MSN Пост: 799812 От 06.Sep.2022 (19:56)
Деду и остальным любителям магнитных цацек:


Картинка хорошая, но ты не понял на что я обращаю твое внимание-
на горку на графике- от нуля ток идет через горку за счет энергии источника, а вот обратно за счет чего он возвращается?
Это же тот же самый принцип, что и в бочконасосе- положительная обратная связь. Давишь на поршень - он упирается сначала, а потом вдруг резко проваливается. На твоем графике то же самое- сначала сердечник упирается, не дает току расти, а потом вдруг ток начинает резко расти.
А по законам электрических цепей, если есть положительная обратная связь, можно сделать генератор.

_________________
я плохого не посоветую


MSN | Post:799831 - Date: 07.09.22(09:03)
Дед, забей на тот график, я лох снял его на пстоянном токе, сначала удивился, а потом понял что сморозил ерунду и фактически снимаю ВАХ активного сопротивления провода, ну и решил немного взбодрить местный конгломерат.🤢
На постоянном токе можно было-бы снять кривую намагничивания,ток-индукция, если бы было куда щуп теслометра в зазор магнитопровода вставить...... Аминь. Движемся дальше.
пысы. Пересниму на переменке, чтобы не смушать народонаселение.

_________________
Говорите говорите, я всегда зеваю когда мне интересно. 99,9% всех СЕ устройств, - от неправильных измерений


MSN | Post:799871 - Date: 07.09.22(21:22)
dedivan Пост: 799862 От 07.Sep.2022 (19:13)
MSN Пост: 799831 От 07.Sep.2022 (09:03)
Пересниму на переменке, чтобы не смушать народонаселение.

Так а эта картинка не твоя?
image

Хорошие титьки получились


Усё мое Дед, просто невнимательный ты сёдни. Вот выкладываю ВАХ трансика на переменке. Вхождение в насыщение настолько острое что я не могу поймать переход и прибор мгновенно прыгает с 2-х практически сразу до 200 миллиампер.


Размер: 202.32 KB


Размер: 12.75 KB

_________________
Говорите говорите, я всегда зеваю когда мне интересно. 99,9% всех СЕ устройств, - от неправильных измерений


bazarov | Post:799880 - Date: 08.09.22(00:09)
Я это сделал... Прочёл первый пост... Больше того, прочёл патент... Правда не весь... Но заглавие обозначило проблему. Кароче так. Весь патент я не читал, но формулы в нём осуждаю.
[ссылка]
Тоже самое... Ещё раз, делал я эту безделицу примерно 20 лет назад. КПД получилось 200% на резисторы МЛТ-0.5. Просто с рекуперацией получилось. Когда в магнитопровод с магнитом впихивается дополнительная индукция примерно 0,5 едениц, то магнит потом отдаёт 1 еденицу энергии. При этом магнит должен насыщать магнитопровод на половину, вторая половина насыщения делается катушкой управления. Проверяется просто. Между магнитом и катушкой намагничивания делается большого диаметра съёмная катушка и на переменном токе проверяется вдоль всей линии состояние намагниченности керна. Если магнит шибко сильный, то ЭДС будет возрастать при движении пробной катушки от магнита к возбуждающей катушки. А то что ты насытил магнитопровод магнитом.... Ну хоть магнит немного выдвинь с окана... Или зазор увеличивай... Первое что ты должен получить при удачной попытке - это размах ЭДС на съёмной катушке в два раза. Больше не получишь. Это физически не возможно... Хотя...

Кароче вот так. Вздрогнем!! 😊

_________________
Не хватит никакого здоровья, чтобы приспособиться к этому глубоко больному обществу(Кришна Мурти)/Горшки не Боги обжигают (многовековая классика)


MSN | Post:799908 - Date: 08.09.22(16:58)
dedivan Пост: 799905 От 08.Sep.2022 (16:03)
MSN Пост: 799871 От 07.Sep.2022 (21:22)
я не могу поймать переход и прибор мгновенно прыгает с 2-х практически сразу до 200 миллиампер.

Так включи последовательно с источником резистор.

Это все понятно, сейчас цели такой не стоит, - блох ловить. Просто отмечаю исключительную прямоугольность кривой намагничивания для пермаллоя и очень маленькую необходимую энергию для его насыщения. Влетает в насыщение он при 0,02Вт при 200мА это уже уже около 6Вт, но думаю что это уже избыточный ток. Сейчас там 2х1200 витков и R=170 Ом, если намотать 2х120 витков например ПЭЛ-0,9 то сопротивление обмоток составит R= 0,38 Ом и увеличим ток в 10 раз, допустим I=2А, получим мощность теряемая на омическом сопротивлении уменьшится в 4 раза и составит всего P=1,5W. Это уже интересно.
А теперь нужна помощь зала:
Как выяснить - при каком количестве ампер*витков МЮ пермаллоя падает достаточно для того чтобы поток почти полностью через пермаллой прекратился ? Я смотрел на ослике, начиная с момента насыщения ток растет примерно линейно, по логике МЮ должна также примерно линейно падать, ну может-быть по линейной экспоненте.
Известно, что Мю=B/H то-есть проницаемость равна отношению индукции к напряженности магнитного поля. Напряженность это наши ампер*витки, а вот индукцию прямо без датчика холла, не измерить. Можно косвенно, проинтегрировав значение ЭДС на пробной катушке, как на картинке.
Что скажете умного спецы ?



Размер: 37.50 KB

_________________
Говорите говорите, я всегда зеваю когда мне интересно. 99,9% всех СЕ устройств, - от неправильных измерений


MSN | Post:799910 - Date: 08.09.22(17:48)
bazarov Пост: 799880 От 08.Sep.2022 (00:09) Я это сделал... Прочёл первый пост... Больше того, прочёл патент... Правда не весь... Но заглавие обозначило проблему. Кароче так. Весь патент я не читал, но формулы в нём осуждаю.

Ну понятно, - чтение по диагонали это твой конек. Оттого и выводы твои дальнейшие ошибочны. Осуждения свои можешь направить в парижскую академию наук, или сразу Бацьке...

ССЫЛКА
Тоже самое... Ещё раз, делал я эту безделицу примерно 20 лет назад.


Не то же самое - НИ РАЗУ! Вот результат твоего чтения по диагонали под пивасик. Неужели не видно что у Флинна, магнитные потоки катушек и магнитов складываются и вычитаются линейно ? в "моем" патенте ВСЕ НАОБОРОТ! Нет никакого складывания и/или вычитания потоков и соответственно в управляющей катушке нет НИКАКОГО ЭДС от изменения магнитного потока в рабочем магнитопроводе.

А то что ты насытил магнитопровод магнитом.... Ну хоть магнит немного выдвинь с окана... Или зазор увеличивай... Первое что ты должен получить при удачной попытке - это размах ЭДС на съёмной катушке в два раза. Больше не получишь. Это физически не возможно... Хотя...


магнитопровод может быть насыщен 100% и магнитный поток полностью замыкается через неактивированный магнитный шунт - пермаллоевый трансик не попадая в рабочий элемент - ярмо. И кстати вместо центрального магнита у меня стоит электромагнит и я оперативно изменяя ток через его обмотку, могу управлять намагничиванием магнитопровода. Магнитный контур магнитного шунта замкнут сам на себя и магнитный поток в нем создаваемый управляющими катушками НИКАК не взаимодействует с центральным магнитом. При активации магнитного шунта, замкнутым внутри него магнитным потоком происходит его намагничивание, затем насыщение, проницаемость (Мю) магнитопровода магнитного шунта падает и магнитный поток центрального магнита перенаправляется в ярмо.

Вот так-то студент.




Размер: 587.50 KB

_________________
Говорите говорите, я всегда зеваю когда мне интересно. 99,9% всех СЕ устройств, - от неправильных измерений


MSN | Post:799916 - Date: 08.09.22(18:14)
олег-джан Пост: 799909 От 08.Sep.2022 (17:30)
А это точно пермаллой?
Толстовато железо...


А тебя image
">ВАХ, осциллограмма и серебристого цвета металл никак не убеждает ?
Толщина пластины 0,25мм. И разве он нормируется по толщине ? Да, в ленте идет и 0,02мм, но такой используется для намотки тороидальных сердечников.
Пы, Сы. Это добыто из каких-то магнитных усилителей времен СССР (5ПЛ.520.196). Чел у которого я брал эти трансики, торговал их на аудиофоруме, позиционируя их как офигительные для применения в ламповых усилках.



Размер: 578.78 KB

_________________
Говорите говорите, я всегда зеваю когда мне интересно. 99,9% всех СЕ устройств, - от неправильных измерений


[ 1 | 2 | 3 | 4 ] [>
У Вас нет прав отвечать в этой теме.
Форум - Магнитные генераторы - Магнитные генераторы - Управление магнитным потоком. - Стр 1
🏠 Главная | 📚 Содержание | 💬 Форум | 📁 Файлы | 📩 Контакт