[ВХОД]
10.04.26(12:40)

www.skif.biz

Альтернативная энергия. Оставь надежду, всяк сюда входящий...

🏠 Главная | 📚 Содержание | 💬 Форум | 📁 Файлы | 📩 Контакт
 
Резонансные генераторы
Магнитные генераторы
Механические центробежные (вихревые) генераторы
Электростатические генераторы
Водородные генераторы
Ветро- и гидро- и солнечные генераторы
Прочие идеи (разные)
О форуме
Транспорт
Оружие
Научные идеи, теории, предположения...
Экономия топлива
Коммерческие вопросы
Струйные технологии
Торсионные генераторы
Новые технологии
Барахолка
Патентный отдел
Конструкторское бюро
Нейтронная физика
Торнадо и смерчи
Гравитация и антигравитация
Сделай сам. Советы.
Медицина и здравоохранение

📱 | 🖨️

Форум - Прочие идеи (разные) - новые идеи (прочие) - Вопросы чайников и ответы ГУРУ ОБО ВСЁМ - Стр:6
<] [ 1 | 2 | 3 | 4 | 5 | 6 | 7 | 8 | 9 | 10 | 11 | 12 | 13 | 14 | 15 | 16 | ... | 181 ] [>
Модератор: NATAN
Первый пост темы: NATAN Post: #707733 От:09.01.2021 (15:16)
Народ, кто "рубит" в электромагнитных волнах, расскажите, а реально погасить электромагнитную волну встречной волной так же как со звуком поступают?
NATAN | Post:710155 - Date: 24.01.21(14:33)
sharp Пост: 710131 От 24.Jan.2021 (13:48)
Спасибо, bazarov. Только ты и Олег-джан остались опорой

Ну что, Натаха, помогли тебе твои опорники?😬

Зря перед тобой извинялся, ты обычная непорядочная свинья.

sharp | Post:710161 - Date: 24.01.21(14:39)
Ну свинья - то ладно.😎
Но в чем же непорядочность? Еще и обычная!


козлайский | Post:710339 - Date: 25.01.21(14:25)
Можно ли нелинейными индуктивностями (ну наподобие что в кинескопных телевизорах стояли с приклееным магнитиком на торце) выпрямить переменный ток не используя
полупроводниковых или ламповых диодов ?

_________________
nature has given us ears which is always open,and a mouth which it is better to keep shut.


NATAN | Post:710346 - Date: 25.01.21(15:31)
На первый взгляд нет. Да и на второй тоже. А откуда такое желание именно индуктивностями выпрямлять? Кто-то где-то об этом писал?

олег-джан | Post:710353 - Date: 25.01.21(15:46)
ТиАритицки можно...
Если индуктивность у нас анизотропна туда-сюда, то возможно...
Магнитные модуляторы работают....

_________________
Обьективная реальность-бред,вызванный недостатком алкоголя в крови...


козлайский | Post:710354 - Date: 25.01.21(15:50)
Ну на первый взгляд,как раз очевидна нелинейность(неодинаковость) прямого и обратного тока.Чем не аналог токового диода ?
Кто-то где-то об этом писал?
Сами пытались экспериментально.
Но получилось плохо. почти никак.😕

_________________
nature has given us ears which is always open,and a mouth which it is better to keep shut.


олег-джан | Post:710357 - Date: 25.01.21(16:02)
Так если ты пытаешься выпрямить 50Гц, то габариты индуктивности будут соответствующие...
Да качество так себе..
Это принцип магнитного усилителя, только в твоем случае не регулируемого...если постоянный магнит вкорячить...

_________________
Обьективная реальность-бред,вызванный недостатком алкоголя в крови...


NATAN | Post:710367 - Date: 25.01.21(17:01)
козлайский Пост: 710354 От 25.Jan.2021 (15:50)
Ну на первый взгляд,как раз очевидна нелинейность(неодинаковость) прямого и обратного тока.Чем не аналог токового диода ?

Вероятнее всего тем, что разный передний фронт, т.е. время нарастания тока. Олег-джан правильно говорит, что частота должна быть достаточной для выявления эффекта. В одну сторону полупериод должен быть по длительности таким чтобы ток не успел нарасти, а в обратную сторону второй полупериод должен нормально нарастить ток в обмотке. Блин, там эдс источника должен быть маленьким наверно и частота очень большой, хотя это от параметров катушки будет зависеть и от степени намагниченности сердечника магнитом. Я бы не стал вязаться, у меня умений не хватит подобрать все параметры.

козлайский | Post:710387 - Date: 25.01.21(17:54)
Частота не вопрос,сделаем какую надо. Не совсем мы деревянные. Ясно,что телевизионные расчитаны на 15625гц.
Схемку можно набросать ? Вот и не получается ничего. не так это просто.
И на основе магнитных усилителей из двух одинаковых 50гц трансформаторов.
не получается. И на килогерцах с ферритовыми нелинейными не получается.
Получаются ,в лучшем случае доли вольта постоянной составляющей.

_________________
nature has given us ears which is always open,and a mouth which it is better to keep shut.


NATAN | Post:710390 - Date: 25.01.21(18:17)
Нет, я скорее любитель потрепаться чем схемотехник.

олег-джан | Post:710392 - Date: 25.01.21(18:23)
Козлайский, это как раз-таки с тебя схемы, что вы мудрили и как не получилось...

_________________
Обьективная реальность-бред,вызванный недостатком алкоголя в крови...


козлайский | Post:710406 - Date: 25.01.21(19:55)
Ну вот,например.


Размер: 10.98 KB

_________________
nature has given us ears which is always open,and a mouth which it is better to keep shut.


NATAN | Post:710407 - Date: 25.01.21(19:58)
А зчем такой изврат вообще нужен, если не секрет?

олег-джан | Post:710417 - Date: 25.01.21(20:30)
И что можно понять полезного из твоей схемы?
Берешь одну индуктивность, один магнит, генератор импульсов..и играешься...

_________________
Обьективная реальность-бред,вызванный недостатком алкоголя в крови...


козлайский | Post:710429 - Date: 25.01.21(21:08)
А зчем такой изврат вообще нужен, если не секрет?

Когда получится,скажу,сбылась мечта идиота...

_________________
nature has given us ears which is always open,and a mouth which it is better to keep shut.


NATAN | Post:710437 - Date: 25.01.21(21:36)
😊 Ясно. Классно когда есть идея. А с одной индуктивностью получилось или сразу мостостроительство? Я бы, как и советует Олег-джан, попробывал бы с одной для начала.

козлайский | Post:710505 - Date: 26.01.21(09:46)
Не получилось ни так ни так. Во первых взгляните ,сопротивление источника приложенное к нагрузке равно последовательно-парралельному сопротивлению
одной обмотки дросселя. т.е. доли ома. В любом случае там будет кот наплакал.
Вся мощность на нагрев дросселей уйдет.
Но даже не это главное.Если глянуть на ток в прямом и обратном направлении на шунте-резисторе. в одну сторону острее и уже,в другую тупее и шире.
а площади одинаковые.

_________________
nature has given us ears which is always open,and a mouth which it is better to keep shut.


олег-джан | Post:710519 - Date: 26.01.21(10:25)
Вот статейку читни..
[ссылка]

_________________
Обьективная реальность-бред,вызванный недостатком алкоголя в крови...


козлайский | Post:710578 - Date: 26.01.21(15:30)
это же про стабилизатор ? а питается 3.3в источник уже выпрямленным пятивольтовым.
так ?
А выпрямить переменку (уж что казалось проще) без классического диода(хотя бы электромеханического коммутатора),ой как не просто.Уже все зубы сломал..
И как на грех мой снимок экрана потерялся,где прямой и обратный ток с токового шунта через нелинейную индуктивность с магнитиком. Там отчетливо видно,что интеграл(площадь) прямого и обратного тока одинаковы.

_________________
nature has given us ears which is always open,and a mouth which it is better to keep shut.


missioner | Post:710587 - Date: 26.01.21(17:32)
Кто снимал матрицу с ЖК-телевизора? Решил сам поменять планки со светодиодами на DEXP 39 там какая то была буква, затем 8000Q с 99- сантиметровым экраном.Достался на халяву, не работает подсветка, напряжение туда идёт. Сделаю прямоугольную рамку для снятия скотчем. Кто то посоветует на что нужно обратить внимание?

_________________
Здесь хранится СЕ суперавтотрансгенератор https://www.skif.biz/index.php?name=Forums&file=viewtopic&p=875842#875842 https://disk.yandex.ru/d/T_H9tIHpXVb8dw Дополненная версия с видео: https://disk.yandex.ru/d/RUQMOtXIHzRo7Q


козлайский | Post:710592 - Date: 26.01.21(18:51)
Я снимал неоднократно с разных. Советую посмотреть ролики на ютубе ,там все разжевывают процесс разборки на конкретную модель.

_________________
nature has given us ears which is always open,and a mouth which it is better to keep shut.


козлайский | Post:711098 - Date: 28.01.21(21:44)
Фонарик с ручной динамкой типа жучок,у нас можно рассматривать как примитивный измерительный прибор произведенной механической работы ( сила умноженная на расстояние) = яркость свечения ?

_________________
nature has given us ears which is always open,and a mouth which it is better to keep shut.


vodoprovodchik | Post:711349 - Date: 30.01.21(15:54)
А вот простий вопрос -
ЕСЛИ сдвинуть МП на условии 1= 1 то с нагрузкой будет ли 1=1 ?? т.е. будет ли расход магнитной энергии ? И если таки ДА то каков % потерь ?

тяжёлый денёк сёдня ...украли велик (под замком), сёдня перегонка браги, блин ! ну никуда не деться от этих воров! типо,/ экспроприация экспроприаторов/ 😏 Уже 4-й ...может в МИРЕ дефицит великов ? 😏
Анализируем :
Местным и в голову не придёт воровать велик под замком, Эмигранты не пойдут на такое потому, что и нах не нужно рисковать визой,,,остаются "левые" т.е. дети левых...а это поляки , хохлы , румыны, русаки ...
Скока надо времени для вправления мозгов по типу узбеков - взял чужое - отрубили руку!
Вот отсюда и - залез в квартиру - пристрелили нах!
;-)
Но это по божески ...;-) А не воруй! 😏
Чесслово ..устал я от цивилизации! Самогонь тока и спасает...;-)


козлайский | Post:711450 - Date: 31.01.21(12:28)
ЕСЛИ сдвинуть МП на условии 1= 1 то с нагрузкой будет ли 1=1 ?? т.е. будет ли расход магнитной энергии ? И если таки ДА то каков % потерь ?

Это о чем ?
Повторю свое.
Фонарик с ручной динамкой типа жучок,у нас можно рассматривать как примитивный измерительный прибор произведенной механической работы ( сила умноженная на расстояние) = яркость свечения ?

Очевидно что он приблизительный индикатор работы.
тогда Что хотел показать Милкович в ролике
с фонариками ?

_________________
nature has given us ears which is always open,and a mouth which it is better to keep shut.


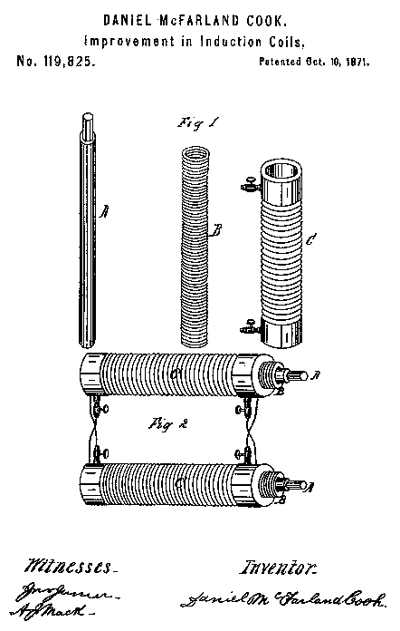
Dikson | Post:711451 - Date: 31.01.21(12:51)
Всем любителям Кука.
c9fa12.doc
Размер: 42.50 KB


Размер: 9.12 KB


Размер: 9.89 KB


Размер: 7.56 KB
4ac7b4.tif
Размер: 114.72 KB

_________________
Так оставим ненужные споры, я себе уже всё доказал... В.Высоцкий


<] [ 1 | 2 | 3 | 4 | 5 | 6 | 7 | 8 | 9 | 10 | 11 | 12 | 13 | 14 | 15 | 16 | ... | 181 ] [>
🔒 Тема закрыта. Добавление новых сообщений невозможно.
Форум - Прочие идеи (разные) - новые идеи (прочие) - Вопросы чайников и ответы ГУРУ ОБО ВСЁМ - Стр 6
🏠 Главная | 📚 Содержание | 💬 Форум | 📁 Файлы | 📩 Контакт