[ВХОД]
20.04.26(15:34)

www.skif.biz

Альтернативная энергия. Оставь надежду, всяк сюда входящий...

🏠 Главная | 📚 Содержание | 💬 Форум | 📁 Файлы | 📩 Контакт
 
Резонансные генераторы
Магнитные генераторы
Механические центробежные (вихревые) генераторы
Электростатические генераторы
Водородные генераторы
Ветро- и гидро- и солнечные генераторы
Прочие идеи (разные)
О форуме
Транспорт
Оружие
Научные идеи, теории, предположения...
Экономия топлива
Коммерческие вопросы
Струйные технологии
Торсионные генераторы
Новые технологии
Барахолка
Патентный отдел
Конструкторское бюро
Нейтронная физика
Торнадо и смерчи
Гравитация и антигравитация
Сделай сам. Советы.
Медицина и здравоохранение

📱 | 🖨️

Форум - Резонансные генераторы - Резонансный трансформатор Теслы - Еще одна реплика устройства Капанидзе - Стр:3
<] [ 1 | 2 | 3 | 4 | 5 | 6 | 7 | 8 | 9 | 10 | 11 | 12 ] [>
Модератор: Azazello
Первый пост темы: Azazello Post: #239325 От:03.04.2010 (21:01)
Bombar не скажешь ли, сколька там мегабайт, а то у меня gprs...
36,3 мегабайта. Видео весьма высокого качества
Понял, две ночи минимум качать, эх, жисть моя жестянка, живу я как в болоте:((
street | Post:239735 - Date: 05.04.10(13:27)
YouTube: Смотреть видео


_________________
Главное в мелочах


CrazyAlex | Post:239736 - Date: 05.04.10(14:05)
Реинженеринг видео от SR193 показывает вот что :

image


Получаеться синус также разорван через разрядник (вот вам и ФАПЧ) ..

Также исходя из опытов про музыкальную катушку Тесла (разряды меняют форму под музыку) - и если внимательно посмотреть на разряды в 100кВт установке (дуга выписывает синусоиду в воздухе)- то все сходиться ...


1.Сначала настраиваеться источник BB - до появления шипяще-звенящего звука с феритовой катушки.. далее источник синуса-также, подаеться через тотже разрядник ..
2.ВВ источник=строчная развертка-там есть возможность подстройки по частоте,также это как раз в спектре частоты звона ферита,пробывал М2000 кольца,как раз, даже почти подстраивать не пришлось)принято в вещательном телевидении СССР, fc = 15 625 гц ...
3.Источником синуса может выступать запросто блок кадровой развертки: кадровая развертка ... S&#201;CAM, PAL — 50 полукадров в секунду (чересстрочная развёртка).



З.Ы. А Valeralap - то первым додумался ..


Размер: 32.20 KB


Размер: 9.92 KB

Kopoet | Post:239737 - Date: 05.04.10(14:08)
street а лампы почему то соединены параллельно, а не схеме последовательно...

CrazyAlex | Post:239746 - Date: 05.04.10(15:19)
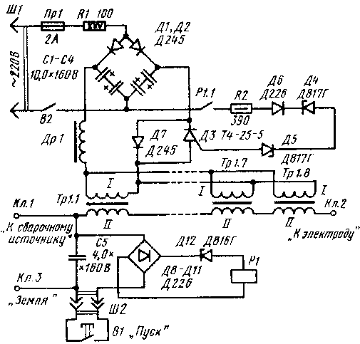
Скорректирывал блок схему...

image



Размер: 14.89 KB

CrazyAlex | Post:239755 - Date: 05.04.10(16:03)
Valeralap [ссылка]

image


Естественно для нашего сайта это повышенный интерес к источнику свободной энергии Тариеля Капанадзе. Я и Сергей Беликов то же решили поразмышлять над демонстрационными устройствами Тариеля Капанадзе. Как и многие желающие скачали фильмы и внимательно их просматривали в надежде увидеть какую то подсказку. В начале фильма с зеленой коробкой обратил внимание на какое-то гудение и треск. Просмотрев внимательно этот участок понял, что природа данного шума не акустического происхождения! То есть данный фон и треск явно является электромагнитной наводкой! Но кто ее создает? Он появляется только тогда когда Капанадзе включил свою установку а корреспондент который вел съемку не контролировал качество звука и находился в близи установки! Но ведь это информация которая раскрывает суть устройства! В разговоре с Сергеем договорились, что он захватит этот сигнал программой и обработав выделит нужный нам спектр. Сергей с блеском выполнил данную задачу и мы получили основную информацию об устройстве продемонстрированным Капанадзе. Так как являюсь электронщиком до мозга костей то осциллограмма это для меня рентгеновский снимок больного! Этой информацией мы решили поделится на форуме и также выкладываем для вашего поиска данную осциллограмму. Но мы не даем собственный комментарий!
Всем удачи в поиске...


street | Post:239757 - Date: 05.04.10(16:13)
YouTube: Смотреть видео


похоже на рекламу готовой продукции

_________________
Главное в мелочах


jonifer | Post:239762 - Date: 05.04.10(16:40)
отдыхай

коян | Post:239763 - Date: 05.04.10(16:44)
http://www.skif.biz/index.php?name=Forums&file=viewtopic&p=236014#236014

Схема и объяснение SR с этим вполне сходятся.
А как то, с этих пор все и началось!!??


Igor_v | Post:239768 - Date: 05.04.10(16:56)
Осциллограмма фон переменного тока частотой приблизительно 100 Гц.
На выходе установки ток такой же частоты.


Kritikanъ | Post:239836 - Date: 05.04.10(20:58)
...Пятая гармонь от 50 херц? 50 - 250 ? 😨 Скажемъ, накачка 250 херц, съём кажный пятый период от неё. &#128536;

mebius | Post:239842 - Date: 05.04.10(21:17)
CrazyAlex Пост: 239746 От 05.Apr.2010 (16:19)
Скорректирывал блок схему...

Крейзи
Почему-то и ты и другие бойцы на разных форумак, которые рисуют и перерисовывают друг у друга эту схему, не принимают во внимание одно важное обстоятельство.
Обмотки на ферритовом сердечнике практически 100% магнитно связаны.
Теперь представим себе, как на центральную обмотку через пробитый искровой зазор подается ВН величиной 6 кВ.
Как вы себе представляете реакцию на такое воздействие в смежных обмотках и на подключенных к ним полупроводниках?
Мне предсталяется, что тут без дополнительных элеметов не обойтись.

С уважением

_________________
Всегда нужно быть готовым к тому, что убеждения, которых придерживался в течении долгого времени, могут оказаться ошибочными\\\". П.А.М. Дирак


al3xey | Post:239853 - Date: 05.04.10(21:34)
Также исходя из опытов про музыкальную катушку Тесла (разряды меняют форму под музыку) - и если внимательно посмотреть на разряды в 100кВт установке (дуга выписывает синусоиду в воздухе)- то все сходиться ...

во во 😶 от автора репликации:

Тут буквально паручасов назад провел маленький эксперимент: Взял 2 трансформатора 220\12 иподключил таким образом, что бы первый понижал напряжения с ~220В до ~12В , авторой повышал с ~12В до ~220В, два трансформатора одинаковой мощности примерно20Вт. На выход второго тр-ра (~220В) подключил лампу накаливая на 220В 15Вт.Затем от источника ВВ начал подавать слабые разряды(постоянного напряжения2-3кВ) на выход второго трансформатора, куда подключена лампа ( разрядыполучились такими же слабыми, как в фильме Тариэля Капанадзе, но при этомзамечен интересный эффект: повышение яркости лампы вспышками.



CrazyAlex | Post:239863 - Date: 05.04.10(21:44)
mebius Пост: 239842 От 05.Apr.2010 (22:17)
CrazyAlex Пост: 239746 От 05.Apr.2010 (16:19)
Скорректирывал блок схему...

Крейзи
Почему-то и ты и другие бойцы на разных форумак, которые рисуют и перерисовывают друг у друга эту схему, не принимают во внимание одно важное обстоятельство.
Обмотки на ферритовом сердечнике практически 100% магнитно связаны.
Теперь представим себе, как на центральную обмотку через пробитый искровой зазор подается ВН величиной 6 кВ.
Как вы себе представляете реакцию на такое воздействие в смежных обмотках и на подключенных к ним полупроводниках?
Мне предсталяется, что тут без дополнительных элеметов не обойтись.

С уважением


Чудесатые чудеса творят диоды в ТДКС ..схему откорректирывать нужно будет еще раз .. я уже провел експеремент со строчником и кадровой .. ничего не сгорает, обмотки как в схеме пущены на транс от старого телека .. (феритовых колец еще не нашел) .. разряд при большем промежутке действительно плавает змейкой .. отключаю кадровую -разряд становиться обычным-ровным ...вот такие пирожки с котятами .. что оно дает еще не знаю 😕


street | Post:239870 - Date: 05.04.10(21:59)
разряд при большем промежутке действительно плавает змейкой .. отключаю кадровую -разряд становиться обычным-ровным




[ссылка]

Любопытно , почему разряд выбирает , изгибаясь , более длинный путь?

_________________
Главное в мелочах


CrazyAlex | Post:239878 - Date: 05.04.10(22:25)
street Пост: 239870 От 05.Apr.2010 (22:59)
разряд при большем промежутке действительно плавает змейкой .. отключаю кадровую -разряд становиться обычным-ровным




[ссылка]

Любопытно , почему разряд выбирает , изгибаясь , более длинный путь?


Стреет спасибо ОГРОМНОЕ ... но не длинный путь ..а как придется, форма разрядников,разряд стремиться замкнуть цепь ..а получается воздушной струей мы можем получить СЕ 😀 , так же как и промодулировав ВВ разряды -низкочастотным сигналом с большой амплитудой ... Мы лякричество в разряднике модулируем внешней энергией(дуем) - этим самым меняем его параметры (модулируем) .. уже боюсь и умные слова говорить - осознавая сколького мы не знаем ...

З.Ы, Прав был Дед .. любое СЕ возможно - только в фазе перехода сути (в данном случае энергий) ... Исходя из данного видео - чем больше амплитуда на генераторе синуса -тем лучше ... по сути вещей в конечном итоге можно использовать любой ВВ импульсный step-down трансформатор ...

З.Ы2. Step-down (понижающий) трансформатор= любой близкий по конструкций к автомобильной катушки зажигания (или по патенту Смита - impulse transformer).. ка раз ферит -обмотки (по автотрансформаторной схеме) ...

bazarov | Post:239887 - Date: 05.04.10(23:18)
CrazyAlex | Post: 239746 - Date: 05.04.10

Крызис, а ты случайно с обмоткой модуляции не переборщил?

_________________
Не хватит никакого здоровья, чтобы приспособиться к этому глубоко больному обществу(Кришна Мурти)/Горшки не Боги обжигают (многовековая классика)


CrazyAlex | Post:239890 - Date: 05.04.10(23:23)
bazarov Пост: 239887 От 06.Apr.2010 (00:18)
CrazyAlex | Post: 239746 - Date: 05.04.10

Крызис, а ты случайно с обмоткой модуляции не переборщил?


Ага есть немного ..завтра расставлю все как сам вижу ..

iled | Post:239914 - Date: 06.04.10(02:01)
А если к 50 герцам вот так подмешать ВВ ??? и всё это уже смешанное подать на разрядник ?


Размер: 8.74 KB


Размер: 3.75 KB

iled | Post:239919 - Date: 06.04.10(03:50)
Ферритовый сердечник,
магнитопровод из феррита. Благодаря очень малой удельной электропроводности ферритов в материале Ф. с. при перемагничивании практически не возникают вихревые токи и, следовательно, отсутствуют потери энергии, что обусловливает возможность использования Ф. с. в радиоэлектронной аппаратуре, работающей в диапазоне радиочастот
это описание ферита ... отсюда следует что НЕНУНО ВВ для перемагничивания ...
и так СЕ в ИСКРЕ .. и искре корорая совмещена с 50 герцами ...а ферит в этой установке это просто трансформатор .....

street | Post:239938 - Date: 06.04.10(08:55)
дляознакомления погугглить ионофон

_________________
Главное в мелочах


CrazyAlex | Post:239956 - Date: 06.04.10(11:08)
YouTube: Смотреть видео


CrazyAlex | Post:239964 - Date: 06.04.10(11:42)
А Д.Смит хитрый сцуко ..знает что такое диодный смеситель 🤢😬🤢🤢🙄

Так что робьята - все звуки с фоном в 100гц(100 только слышно, а модулируеться 50-тью герцами) со всех видео действующих установок - идут с разрядника ... трансформатор выходной - это просто транс на феритах ..

Вот это трансформатора одного и от него же запитана лампа.
Тоесть в данный момент видим мощность 150 ват.
Сейчас у меня горит, причем бумажка.
И сама запитка от этого трансформатора на тот трансформатор.
И получается выработка свободной энергии. Можно так сказать.


&#128520;😕

Eduard | Post:240006 - Date: 06.04.10(14:33)
CrazyAlex Пост: 239755 От 05.Apr.2010 (17:03)

Навскидку, если время указано в секундах, получается частота основной гармоники 88 Гц. Это значит, что девайс не привязан к сети переменного тока.

_________________
И мню аз яко то имать быть, что сам себе всяк может учить.


shura-i | Post:240010 - Date: 06.04.10(14:39)
Eduard, по моим подсчетам 115 Гц 😀 Тем не менее, вывод верный.

PS: Разметка на картинке, судя по всему, неверная. Или непонятно из какого файла. Еще раз послушал. На видео с испытанием зеленого ящика (с погребением радиатора) частота около 98 Гц. На видео с прозрачным ящиком (где очень громко слышно) около 99 Гц. Всё это похоже на вибрацию на промышленной частоте.

спектр звука из прозрачного ящика
Размер: 12.89 KB

Eduard | Post:240027 - Date: 06.04.10(16:21)
Ну я же сказал - навскидку 😀
А вот спектр - это хорошоо. Десятая гармоника на месте, это значит никаких 99 Гц, это ровно 100. Значит, питают от розетки.

_________________
И мню аз яко то имать быть, что сам себе всяк может учить.


<] [ 1 | 2 | 3 | 4 | 5 | 6 | 7 | 8 | 9 | 10 | 11 | 12 ] [>
У Вас нет прав отвечать в этой теме.
Форум - Резонансные генераторы - Резонансный трансформатор Теслы - Еще одна реплика устройства Капанидзе - Стр 3
🏠 Главная | 📚 Содержание | 💬 Форум | 📁 Файлы | 📩 Контакт