[ВХОД]

ЛИЧНЫЕ СООБЩЕНИЯ 📝
МОЯ АНКЕТА 📋
ВЫЙТИ 🚪

🏠 Главная | 📚 Содержание | 💬 Форум | 📁 Файлы | 📩 Контакт

📱 | 🖨️

Форум - Магнитные генераторы - Генератор Хаббарда - Испытания генератора Хаббарда - Стр:51
<] [ 1 | ... 41 | 42 | 43 | 44 | 45 | 46 | 47 | 48 | 49 | 50 | 51 | 52 | 53 | 54 | 55 | 56 | 57 | 58 | 59 | 60 | 61 | ... | 201 ] [>
Модератор: Gecko
Первый пост темы: Gecko Post: #108 От:08.04.2004 (17:49)
Насчет отрицательных результатов - могу вас порадовать, я лично пробовал собрать генератор Хаббарда( Если кому-то интересно могу рассказать, что я брал, сколько витков мотал, в общем все числовые данные на эту тему. Для неверующих могу прислать фотку, он у меня еще где-то лежит smile ), так вот, он успешно не работает. Второй конденсатор для резонанса я не ставил, мне и так стало ясно, что не выйдет. Может, конечно, я что-то не так собрал, или материалы у меня не те были (сердечники, к примеру, надо какие-то особые или еще чего), не работает он у меня, и все тут !
Вам бы на форуме надо добавить раздел теоретических рассуждений,
для обсуждения общих принципов работы всех этих сверьединичных устройств, а так же принципов, из-за которых они не работают
street | Post: #178515 - Date: 04.05.09(16:54)
street Судя по всему в самом Спайсе.

Нет , как оказалось , грабли мои собственные, но всё равно считаю,
что лучше реальную искру в реальную индуктивность запихивать.
Оно нагляднее.

_________________
Главное в мелочах


[ответить][с цитатой] - Правка 04.05.09(15:39) - street
MSN | Post: #178518 - Date: 04.05.09(17:24)
street Пост: #178509 От 04.May.2009 (17:33)
Вот чего Спайс вытворяет.
На короткозамкнутой первичке второй бобины напр , и ток НОЛЬ ВСЕГДА.
А первая робит как обычно. Хде грабли?

Ндя? А связь для второй (K2 L3 L4 XX) кто поставит, дядя?

_________________
Говорите говорите, я всегда зеваю когда мне интересно. 99,9% всех СЕ устройств, - от неправильных измерений


[ответить][с цитатой]
MSN | Post: #178521 - Date: 04.05.09(17:37)
внутренее сопротивление ВВ обмотки у Б-117 около 10-12 кОм, что тут странного ?
замкни первичку, тогда остается кроме уменьшенной индуктивности еще активное сопротивление. В чем проблема ?
На Спайс гнать не надо. Сначала руки к кузнецу, а потом уж прогу фтопку.

_________________
Говорите говорите, я всегда зеваю когда мне интересно. 99,9% всех СЕ устройств, - от неправильных измерений


[ответить][с цитатой]
MSN | Post: #178525 - Date: 04.05.09(17:50)
МОж автор имел ввиду, Что после импульса тока в предыдущую обмотку, коммутатор должен ее замыкать ? Так можно продлить действие поля в сердечнике "накачанной" обмотки. Иначе энергия накачки вылетит мгновенно в трубу, сердечник размагнитится, с высоковольтным ЭДС самоиндукции на выходе катушки.

_________________
Говорите говорите, я всегда зеваю когда мне интересно. 99,9% всех СЕ устройств, - от неправильных измерений


[ответить][с цитатой]
MSN | Post: #178528 - Date: 04.05.09(18:06)
to street
image


Зеленым ток в L1, красным напряжение на L4. Ну и хде оно равно нулю?

_________________
Говорите говорите, я всегда зеваю когда мне интересно. 99,9% всех СЕ устройств, - от неправильных измерений


[ответить][с цитатой]
street | Post: #178533 - Date: 04.05.09(18:16)
Ну и хде оно равно нулю?



tu MSN , Виноват , погорячился, связь хоть и проставил , а галку "спайс детектив" - нет. Сорри.

Сейчас уберу несоответствующие действительности картинки.

_________________
Главное в мелочах


[ответить][с цитатой] - Правка 04.05.09(15:45) - street
bazarov | Post: #178559 - Date: 04.05.09(20:59)
ildab, У Вас первичьки на низкую индуктивность со связью по индукции или без?

_________________
Не хватит никакого здоровья, чтобы приспособиться к этому глубоко больному обществу(Кришна Мурти)/Горшки не Боги обжигают (многовековая классика)


[ответить][с цитатой]
MSN | Post: #178562 - Date: 04.05.09(21:35)
to street
image


Зеленым ток в L1, красным напряжение на L4. Ну и хде оно равно нулю?

_________________
Говорите говорите, я всегда зеваю когда мне интересно. 99,9% всех СЕ устройств, - от неправильных измерений


[ответить][с цитатой]
YOGIK | Post: #178565 - Date: 04.05.09(21:46)
to MSN А закольцевать 3-6 катушек можно? А то в мультике у меня ВД 100% получился.
Я про него забыл(типа покурить сходил) , прихожу, а он себе режим нашёл и крутит собака без переключения "трамплера". Правда я поменя схему БОГАТЫРЯ, с трамплера на первичку, а не на вторичку.
Частота приколола- 50 кГц. И хоть и 3 или 6 трансов- до лампочки.
А нагрузка только где то в стороне, иначе 🤬

[ответить][с цитатой]
MSN | Post: #178568 - Date: 04.05.09(21:56)
Закольцквать, - это к Богатыру🤢
ПО поводу Мультика. Симуляторы вешь хорошая и правиьная. Тока перед применением к кузнецу сходить нужно. Ну это, чтобы пальцы подправил 🤢
Ищи ошибку в эквивалентой схеме.

_________________
Говорите говорите, я всегда зеваю когда мне интересно. 99,9% всех СЕ устройств, - от неправильных измерений


[ответить][с цитатой]
Fema | Post: #178580 - Date: 04.05.09(23:44)
Возможный вариант схемы с последовательным включением высоковольтных катушек через разрядники(свечи)


Размер: 13.56 KB

[ответить][с цитатой] - Правка 04.05.09(20:45) - Fema
AlexZander | Post: #178624 - Date: 05.05.09(10:37)

МОж автор имел ввиду, Что после импульса тока в предыдущую обмотку, коммутатор должен ее замыкать ?

так, так, так, так! Интересненько, интересненько! Нука, подскажи мил человек как одним прерывателем замкнуть четыре катукшки! 😀

[ответить][с цитатой]
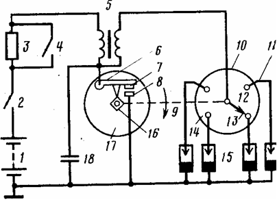
mibor | Post: #178637 - Date: 05.05.09(11:03)
В механическом трамблере кроме высоковольтного распределителя есть еще одна группа контактов - прерыватель.
С ув.


Размер: 29.80 KB

[ответить][с цитатой]
AlexZander | Post: #178643 - Date: 05.05.09(11:17)
Mibor! Очнись, родной! 😏 Я тут прерыватель с начала явления облизывал! 😀
Он первички последовательно соединенные возбужжжждать вроде должОн...

[ответить][с цитатой] - Правка 05.05.09(08:18) - AlexZander
turist1 | Post: #178695 - Date: 05.05.09(14:08)
Все боковые катушки-составляют части витка большой катушки состоящей из боковых,
ток в большой катушке состоит из прямых и обратных токов боковых и складывается из их поочредных импульсов. Очень важен момент коммутации по графику накачки катушек..
В катушке зажигания ,токи первички и вторички должны иметь одно направление,а обратный эдс вторички быть в фазе с током первички.
Вот такие выводы..

[ответить][с цитатой] - Правка 05.05.09(11:21) - turist1
AlexZander | Post: #178702 - Date: 05.05.09(14:27)
Насчет последовательного соединения первичек я конечно чуть погорячился. Стартовый импульс на первую низковольтную обмотку должен подаваться, дальше получается многоступенчатый флайбэк с последовательной комутацией через высоковольтную цепь трамблера. Иначе концы не сходятся.

PS: Для экскременту можно взять повышающий транс на ферритовом кольце и комплект шайтан-драйверов от Деды Вани, если у кого уже есть. На вторичке диод - получается обратноходовой преобразователь. Вот импульс с его выхода и подать на следующий такой же каскад. Хотя как я понял автор использовал одну обмотку на катушке и тиристоры. Полпериода туда, полпериода сюда. Наверно проще две обмотки и диоды взять - пусть само переключается куда надо. Ну и тогда про минимум три катушки - бред.
2 -> 4 -> 6 -> 8 ->...

[ответить][с цитатой] - Правка 05.05.09(11:40) - AlexZander
sharp | Post: #178704 - Date: 05.05.09(14:37)
а никто, случайно, не знает, как выглядел трамблер того времени и чем он отличался от совремого?

[ответить][с цитатой]
bomb | Post: #178705 - Date: 05.05.09(14:37)
А не разнесет катушку на последней ступени?

_________________
мы живем до точки breakpoint, точки прорыва


[ответить][с цитатой]
AlexZander | Post: #178706 - Date: 05.05.09(14:41)
sharp Пост: #178704 От 05.May.2009 (15:37)
а никто, случайно, не знает, как выглядел трамблер того времени и чем он отличался от совремого?

Вакуум-корректора УОЗ небыло, а так все стандартно. А вообще, в то время магнето были в моде.

[ответить][с цитатой]
street | Post: #178714 - Date: 05.05.09(14:56)
Занятная игрушка этот спайс. Понятия не имею чего я намоделил , а картинка такая.
Ток в L1 (первичка первой бобины) и ток ключа.


Размер: 24.97 KB

_________________
Главное в мелочах


[ответить][с цитатой]
street | Post: #178716 - Date: 05.05.09(15:01)
Отношение реактивки в L1 к активной от источника.


Размер: 26.26 KB

_________________
Главное в мелочах


[ответить][с цитатой]
queet | Post: #178756 - Date: 05.05.09(18:38)
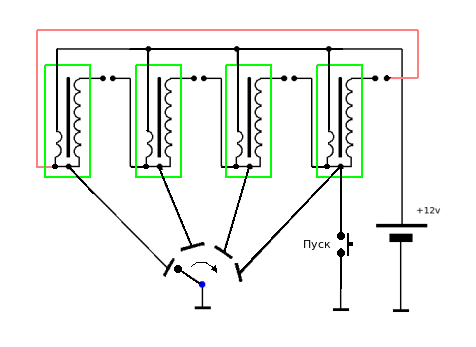
Мож как-нить так?


Размер: 18.54 KB

[ответить][с цитатой]
bazarov | Post: #178770 - Date: 05.05.09(19:27)
😕 ..... Всё ...... Сейчас МСН на мне пробу поставит 😕 ......
Хавайся у бульбу ( : )
08bdb9.rar
Размер: 13.01 KB

_________________
Не хватит никакого здоровья, чтобы приспособиться к этому глубоко больному обществу(Кришна Мурти)/Горшки не Боги обжигают (многовековая классика)


[ответить][с цитатой]
AlexZander | Post: #178844 - Date: 06.05.09(08:06)
Мож как-нить так?

А прерыватель?

[ответить][с цитатой]
queet | Post: #178845 - Date: 06.05.09(08:09)
AlexZander Пост: #178844 От 06.May.2009 (09:06)
Мож как-нить так?

А прерыватель?
Ну прилепи перед распределителем

[ответить][с цитатой]
<] [ 1 | ... 41 | 42 | 43 | 44 | 45 | 46 | 47 | 48 | 49 | 50 | 51 | 52 | 53 | 54 | 55 | 56 | 57 | 58 | 59 | 60 | 61 | ... | 201 ] [>

Форма ответа

😊 😛 😕 😀 😬 😎 🤔 😘 😕 🥴 😏 😶 😡 🙄 😭 😈 🤢 🤮 😁 😨 🤬 😝
Добавить файл: ≤ 1.95 MB
Описание файла:
Можно загружать только - jpg, jpeg, png, gif, pdf, doc, docx, zip
Если картинка больше чем 600х600, то отобразится ссылкой.
Форум - Магнитные генераторы - Генератор Хаббарда - Испытания генератора Хаббарда - Стр 51

🏠 Главная | 📚 Содержание | 💬 Форум | 📁 Файлы | 📩 Контакт