[ВХОД]

22.03.26(15:28)

www.skif.biz

Альтернативная энергия. Оставь надежду, всяк сюда входящий...

🏠 Главная | 📚 Содержание | 💬 Форум | 📁 Файлы | 📩 Контакт

📱 | 🖨️

Форум - Резонансные генераторы - Прочие резонансные генераторы - Как намотать ХТ и БХТ - Стр:82
<] [ 1 | ... 72 | 73 | 74 | 75 | 76 | 77 | 78 | 79 | 80 | 81 | 82 | 83 | 84 | 85 | 86 | 87 | 88 | 89 | 90 | 91 | 92 | ... | 193 ] [>
Модератор: dedivan
Первый пост темы: dedivan Post: #126798 От:11.08.2008 (17:59)

Давайте сначала начнем с того как не надо мотать.
Слово Валере Лапутько.
Он проверил- так не работает.
valeralap | Post: #171633 - Date: 31.03.09(18:19)
Antgrl | Post: 171422 Вопрос:Много ли отличаеца эта катушки от оригинала по свойствам?

Да, отличается, авторская намного проще изготавливается.

_________________
Чтобы слушать Иисуса Христа, нужно быть, хотя бы его апостолом!



mikesh | Post: #171645 - Date: 31.03.09(18:58)
я так понимаю, что:
-указаный выше вариант мотается в 1 провод и сложнее в изготовлении именно из-за продевания (не механизируется просто), авторская судя по всему (и по замечениям автора) намотана не в 1 провод (что кстати вовсе не обозначает что это простейший бифиляр).


SEVER | Post: #171682 - Date: 31.03.09(21:16)
...укладывая виток плоскостью, и на середине витка продевал челнок. Таким образом, получается, что все витки лежат плоскостью на катушке перпендикулярно оси.

может кто объяснит понятнее?
не могу представить, как виток может лежать плоскостью на катушке и при этом быть перпендикулярным оси?😳

_________________
Намного проще о том пи...ть, чего ни кто не понимает.



Antgrl | Post: #171689 - Date: 31.03.09(21:27)
valeralap Пост: 171633 От 31.Mar.2009 (19:19)
Antgrl | Post: 171422 Вопрос:Много ли отличаеца эта катушки от оригинала по свойствам?

Да, отличается, авторская намного проще изготавливается.

Я имел в виду не трудностъ изготобления а электрические характеристики потому, что катушка намотана по правилам автора, значит она должна соответствовать оригиналу. Мы скорее всего на этом форуме неотгадаем без подскаски намотку но можем дальше продвигаться вперёд, изучая свойства катушки.Сейчас на форуме тишина, а тема очень хорошая.


FEME | Post: #171690 - Date: 31.03.09(21:28)
valeralap Пост: 171633 От 31.Mar.2009 (19:19)
Antgrl | Post: 171422 Вопрос:Много ли отличаеца эта катушки от оригинала по свойствам?

Да, отличается, авторская намного проще изготавливается.


Ясный перец, соленоид проще мотать, чем шнуровку делать. 😎

_________________
\\\"Если ты не умеешь владеть собой, тобой завладеют другие\\\" (Кроното—Сумус)



DED | Post: #172504 - Date: 05.04.09(07:35)
Ребята, вот последние известия от Зацаринина Сергея Борисовича.
02583c.pdf
Размер: 403.03 KB


Downito | Post: #172512 - Date: 05.04.09(08:48)
ИМХО, двигатель и диск с магнитами абсолютно лишние детали. Почему не катушка питаемая переменным током вместо них?


jonifer | Post: #172514 - Date: 05.04.09(08:59)
Проводилось математеческое моделирование такого генератора:
- ничем не отличается от классического генератора на постоянных магнитах
при явном падении сопротивления вращению ротора при подключенной нагрузке - ровно во столько же раз падает выжодная мощность.И никаких чудес - теме уже года три тоже.


dedivan | Post: #172516 - Date: 05.04.09(09:12)
Downito Пост: 172512 От 05.Apr.2009 (09:48)
Почему не катушка питаемая переменным током вместо них?


Это из школы заблуждение что постоянный магнит и электромагнит (катушка)
создают эквивалентные поля.
Есть много простых опытов в которых видно, что это не так.

_________________
я плохого не посоветую



jonifer | Post: #172520 - Date: 05.04.09(09:20)
Есть много простых опытов в которых видно, что это не так.

Когда найдёте хоть одно различие - СЕ можно будет качать тоннами.


MSN | Post: #172521 - Date: 05.04.09(09:24)
to jonifer
Выходит Зацаринин разводит ? 😀
простой подсчет, потребление двигателя~ 18вт, катушка дает 4х1=4вт, если нет повышения потребления тока двигателя, ставится 8 катушек например и вуаля 😀

_________________
Говорите говорите, я всегда зеваю когда мне интересно. 99,9% всех СЕ устройств, - от неправильных измерений



MSN | Post: #172522 - Date: 05.04.09(09:29)
jonifer Пост: 172520 От 05.Apr.2009 (10:20)
Есть много простых опытов в которых видно, что это не так.

Когда найдёте хоть одно различие - СЕ можно будет качать тоннами.


По поводу намотать катушку и подавать ток и возбуждать движущимся магнитом.
Это совсем два разных способа создатния dФ/dt
в первом случае изменение магнитного потока за счет перемещения, во втором за счет изменения тока, второй случай как-раз рождает ток индуцируемый полем вторички в первичку, и он зараза прет всегда против источника 😀

_________________
Говорите говорите, я всегда зеваю когда мне интересно. 99,9% всех СЕ устройств, - от неправильных измерений



jonifer | Post: #172523 - Date: 05.04.09(09:30)
Не знаю, как он намерял это чудо - по расчётам полный ноль.(какой момент на роторе - ровно столько и отдача с катушки -минус потери)


MSN | Post: #172528 - Date: 05.04.09(09:38)
jonifer Пост: 172523 От 05.Apr.2009 (10:30)
Не знаю, как он намерял это чудо - по расчётам полный ноль.(какой момент на роторе - ровно столько и отдача с катушки -минус потери)


ТО, Что в такой конфигурации не будет противодействия ротору, это даже к гадалке не ходи. А вот выдаст ли та катуха 4Вх1А вот в чем вопрос...
НУ, думаю, не пройдет много времени, и у кого-то любопытсво пересилит лень, и он попробует повторить опыт.

_________________
Говорите говорите, я всегда зеваю когда мне интересно. 99,9% всех СЕ устройств, - от неправильных измерений



SaturnV | Post: #172533 - Date: 05.04.09(09:51)
Этоже опять Фе машина! Противо катушки мне уже наскучили, почему в таких устройствах все умалчивают о результирующей индуктивности, да хоть клубок провода на феррит насадить все равно будет какаято результирующая - она и работает как одна простая. 😳
Внутренние полу-витки взаимовычитаются остаются наружные
Внутренние полу-витки взаимовычитаются остаются наружные
Размер: 2.73 KB


jonifer | Post: #172535 - Date: 05.04.09(09:55)
Противодействие ротору полностью пропорционально генерируемой мощности - я ещё и не такие катушки в модель пихал. На рисунке в pdf изображена суммарная намагниченность сердечника - она(условно)не влияет на ротор - и полностью выкинута из рисунка тормозящая составляющая (от ЭДС) - вот она всё и портит.


MSN | Post: #172539 - Date: 05.04.09(10:07)
jonifer Пост: 172535 От 05.Apr.2009 (10:55)
Противодействие ротору полностью пропорционально генерируемой мощности - я ещё и не такие катушки в модель пихал. На рисунке в pdf изображена суммарная намагниченность сердечника - она(условно)не влияет на ротор - и полностью выкинута из рисунка тормозящая составляющая (от ЭДС) - вот она всё и портит.

Так тормозной момент по идее осздается ТОЖЕ двумя катушками и он тоже должен быть скомпенсирован в области участка магнитопровода взаимодействующего с МП магнита, или я чего-то недопонимаю?

_________________
Говорите говорите, я всегда зеваю когда мне интересно. 99,9% всех СЕ устройств, - от неправильных измерений



MSN | Post: #172543 - Date: 05.04.09(10:08)
DED Пост: 172504 От 05.Apr.2009 (08:35)
Ребята, вот последние известия от Зацаринина Сергея Борисовича.


Дед, а это не прикол от 1 Апреля ?:)
Дата как-то подозрительно совпадает. Гды ты брал сей материал ?

_________________
Говорите говорите, я всегда зеваю когда мне интересно. 99,9% всех СЕ устройств, - от неправильных измерений



SEVER | Post: #172544 - Date: 05.04.09(10:11)
DED Пост: 172504 От 05.Apr.2009 (08:35)
похоже, что Сергей Борисовичь сотворил ремейк генератора Грамма.
это очень хорошо! спасибо DED за инфу. я собирался изготавливать классический генератор Грамма и от него плясать. а теперь Зацарицин удовлетворил моё любопытство на 200%! можно сразу начинать с более сложных конструкций!&#128520;

_________________
Намного проще о том пи...ть, чего ни кто не понимает.



jonifer | Post: #172546 - Date: 05.04.09(10:24)
Так тормозной момент по идее осздается ТОЖЕ двумя катушками и он тоже должен быть скомпенсирован

они встречные и не компенсируются, а суммируются - и тормозят весьма ушпешно.
Два магнита S-N N-S в центре дают 2N (аналог встечных катушек)


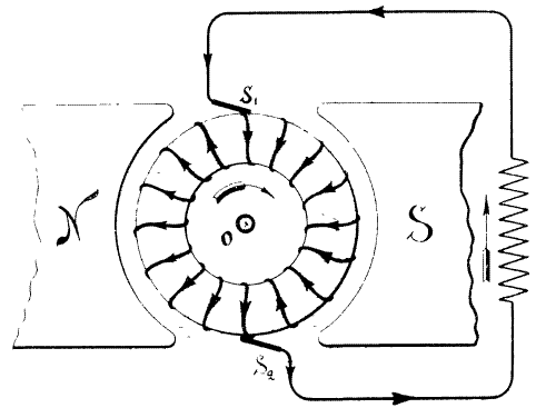
SEVER | Post: #172547 - Date: 05.04.09(10:27)
jonifer Пост: 172535 От 05.Apr.2009 (10:55)

посмотрите на рисунок генератора Грамма. лично я не вижу ни какого противодействия вращению.


Размер: 9.57 KB

_________________
Намного проще о том пи...ть, чего ни кто не понимает.



jonifer | Post: #172552 - Date: 05.04.09(10:45)
При протекании тока нагрузки - даже круглый сердечник становится постоянным магнитом с явновыраженными полюсами ( а не скомпенсированными,якобы замыкающимися по кругу) и такой ротор сдвинуть с места трудно.


Размер: 9.80 KB


jonifer | Post: #172553 - Date: 05.04.09(10:51)
Сколько пара затратили - столько и электричества получили.


Размер: 160.82 KB


DED | Post: #172557 - Date: 05.04.09(11:09)
MSN, а в чём может быть прикол?
Сергей Борисович - бывший главный инженер Байконура. Смысла прикалываться я не вижу. Тем более, что выложены живые результаты измерений.
Просто надо собрать и подтвердить результат.
А материал этот он сам мне вчера прислал.Я испросил разрешения выложить материал. Он разрешил. Так что никаких подвохов.


SaturnV | Post: #172568 - Date: 05.04.09(11:47)
Просто надо собрать и подтвердить результат.

Кто будет собирать?😎
12А на выходе- а чебы моторчик ни запитать? еслибы он самсебя крутил! можноб было и собирать. Если это не третеапрельская шутка, то что?...


<] [ 1 | ... 72 | 73 | 74 | 75 | 76 | 77 | 78 | 79 | 80 | 81 | 82 | 83 | 84 | 85 | 86 | 87 | 88 | 89 | 90 | 91 | 92 | ... | 193 ] [>
У Вас нет прав отвечать в этой теме.
Форум - Резонансные генераторы - Прочие резонансные генераторы - Как намотать ХТ и БХТ - Стр 82
🏠 Главная | 📚 Содержание | 💬 Форум | 📁 Файлы | 📩 Контакт